EasyManua.ls Logo

Chamberlain 312HMC - Installation; Specifications

Chamberlain 312HMC
8 pages
Print Icon
To Next Page IconTo Next Page
To Next Page IconTo Next Page
To Previous Page IconTo Previous Page
To Previous Page IconTo Previous Page
Loading...
1
2
3
1
2
3
4
INSTALLATION
The receiver and antenna use TV Type F coaxial connectors. The antenna can be
plugged directly onto the receiver or mounted to a bracket and connected to the
receiver with Model 86 Coaxial Cable Kit, depending on your requirements.
Select a location for the receiver which allows access to the terminals and space
for the antenna (as far from metal structures as possible and preferably with the
antenna in an upright position). Fasten the receiver securely with screws through
the two holes provided in the cover flanges.
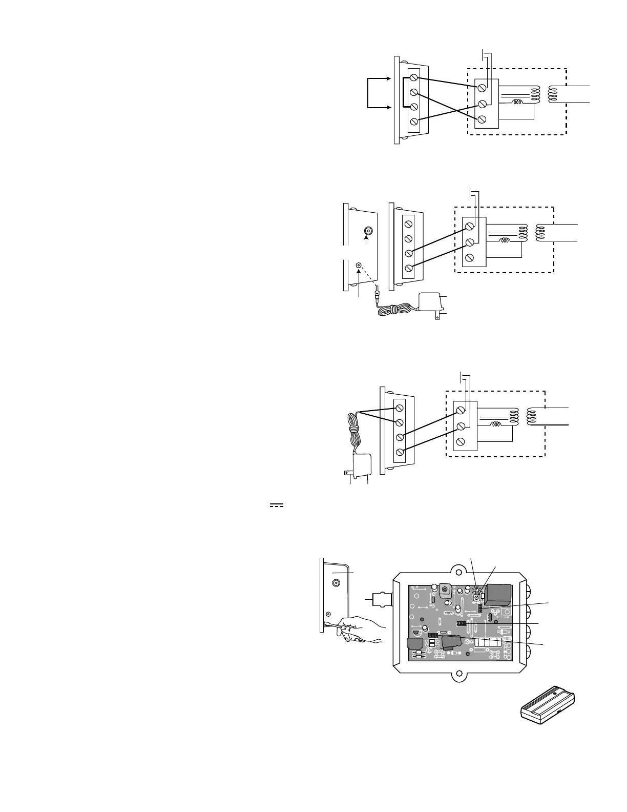
WITHOUT TRANSFORMER
Make a jumper wire connection to receiver terminals 1 and 3. Connect wires from
receiver to opener as illustrated in Figure 4.
TRANSFORMER MODEL 85
Receiver terminals 1 and 2 are not used. Connect bell wire to receiver terminals 3
and 4 and to opener terminals used for push button controls Figure 5. The
transformer plugs into a 120V outlet.
TRANSFORMER MODEL 95 (WITHOUT PLUG-IN JACK)
Connect transformer secondary wires the receiver terminal 1 and 2. Connect bell
wire to receiver terminals 3 and 4 and to opener terminals used for push button
controls Figure 6. The transformer plugs into a 120V outlet.
PROGRAMMING THE REMOTE TO THE RECEIVER
1. Pry open the front panel of receiver case with a coin or a screwdriver.
Re-connect power to opener Figure 7.
2. Press and release the “learn” button on the receiver. The learn indicator light will
glow steadily for 30 seconds.
3. Within 30 seconds, press and hold the button on the hand-held remote that you
wish to operate your garage door.
The opener will now operate when the push button on either the receiver or the
remote control transmitter is pressed.
Repeat Steps 2 and 3 for each remote control that will be used to operate the
garage door opener.
TO ERASE ALL REMOTE CONTROL CODES
Press and hold the “learn” button on the receiver panel until the indicator light
turns off (about 6 seconds). All transmitter codes are now erased. Then follow the
steps above to reprogram each remote control.
1
2
3
1
3
4
2
1
2
3
1
3
4
2
FIGURE 4
FIGURE 5
FIGURE 6
FIGURE 7
24V
12V
HIGH
NORM
C
P2
M
SPECIFICATIONS
Output Rating .....................................................................5 Amps 28Vac or dc Max.
Power ................................................................................. 18V - 30V ~, 30mA, 60Hz
18 - 30V , 30mA
RF Frequency: .............................................315 MHz (Models 312HMC and 312HM)
390 MHz (Models 412HMC and 412HM)
NOTE: If the power is other than shown in specifications, Accessory Transformer
Model 85 or 95 is required.
Receiver
(bottom)
CONNECT
JUMPER WIRE
TO TERMINALS
1 AND 3
Wall
Button
Opener
Common
Relay
24V
TRANS
PRIMARY
Receiver
(bottom)
Receiver
(top)
Connect
Antenna
Connect
Transformer
Wall
Button
Opener
Common
Relay
24V
TRANS
PRIMARY
Model 85 Transformer
To wall outlet
ACCESSORY REMOTE CONTROLS
Series 300. ................................................................... Models 312HMC and 312HM
Series 900. ................................................................... Models 412HMC and 412HM
FOR SERVICE DIAL OUR TOLL FREE NUMBER:
1-800-528-9131
Receiver
(bottom)
Wall
Button
Model 95 Transformer
To wall
outlet
Opener
Common
Relay
24V
TRANS
PRIMARY
OPENING RECEIVER
Connect
Antenna
Indicator Light
Learn Button
Output Duration
Terminals
Security Mode
Power Supply
Jumper

Related product manuals