EasyManua.ls Logo

Champion Model 44 - Page 39

Champion Model 44
134 pages
Print Icon
To Next Page IconTo Next Page
To Next Page IconTo Next Page
To Previous Page IconTo Previous Page
To Previous Page IconTo Previous Page
Loading...
31
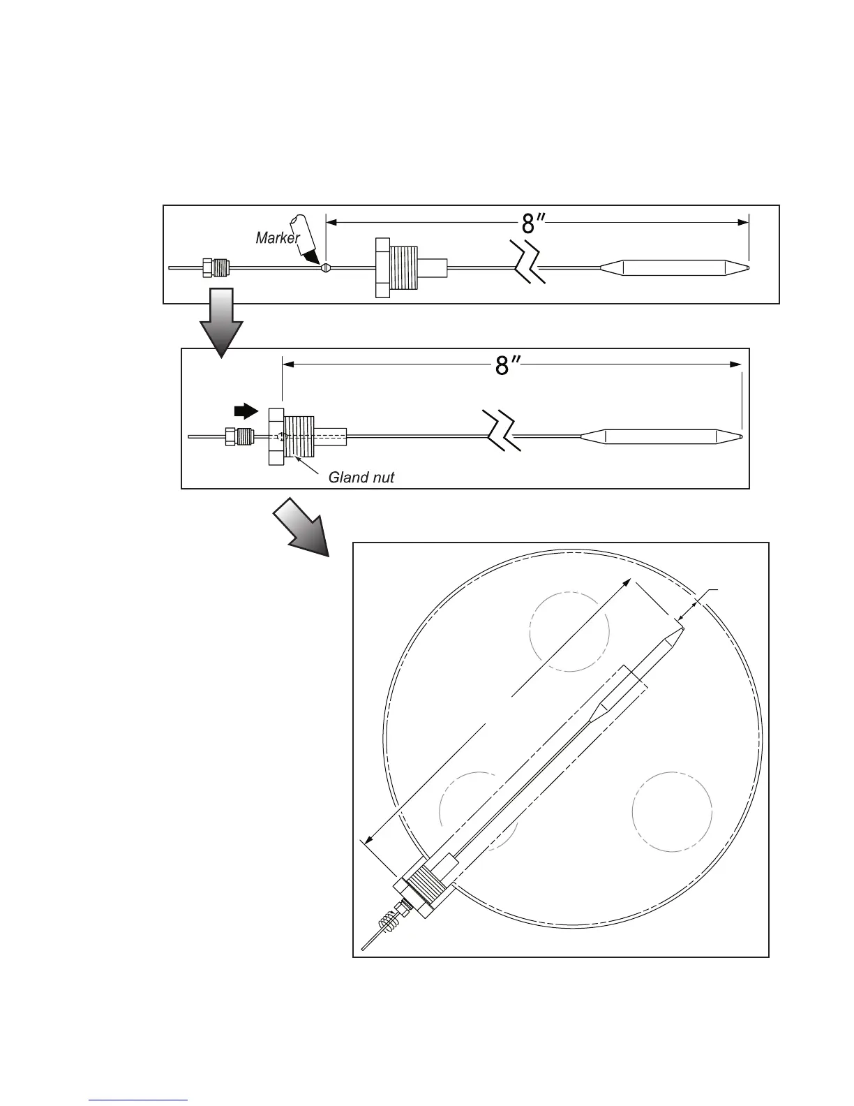
Mechanical Service • Replace Electric Booster Control Thermostat
Slide ferrule 8” away from the end of the thermostat probe and mark.
Thread gland nut into booster tank fitting.
1"
8"
Insert thermostat probe into
booster tank taking care not
to crimp capillary tube.
Slide ferrule and small gland nut
up to mark on capillary tube.
Tighten small gland nut to seal
the assembly.
Complete the installation of
the thermostat body and check
booster heater operation.
Mechanical • Basic Service Basic Service • Mechanical

Other manuals for Champion Model 44

Related product manuals