EasyManua.ls Logo

Chapin 82050C - Gate Control Final Adjustment; Steps 11.2 & 11.3: Setting Position and Tightening Hardware

Chapin 82050C
20 pages
Print Icon
To Next Page IconTo Next Page
To Next Page IconTo Next Page
To Previous Page IconTo Previous Page
To Previous Page IconTo Previous Page
Loading...
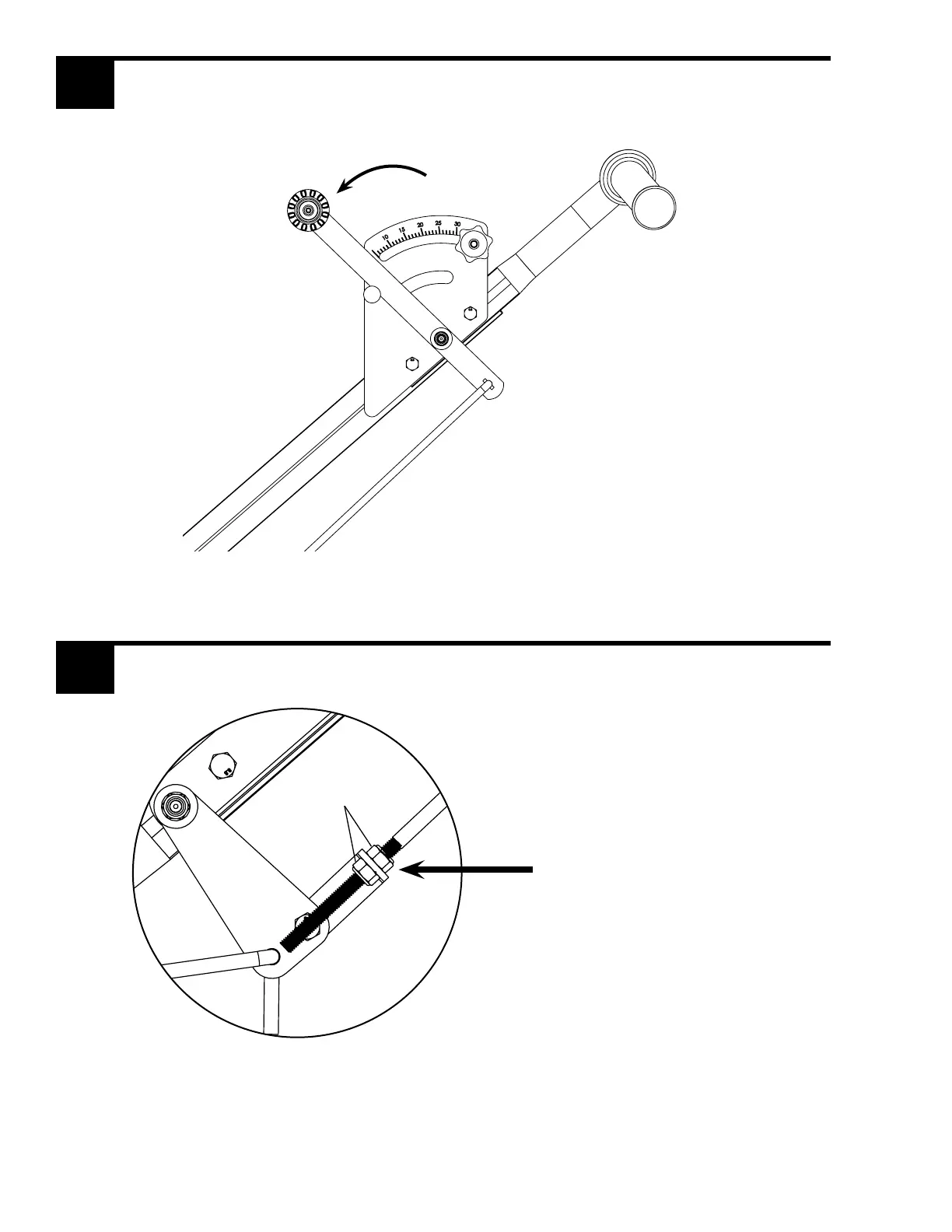
11.3
With the rotary gate closed and the gate
control arm in the closed position, tighten the
Hex nuts to the bracket as shown.
Con la compuerta rotatoria cerrada y el
brazo de control de la compuerta en posición
cerrada, apriete las tuercas hexagonales al
soporte como se muestra.
Alors que la vanne rotative est fermée et que
le contrôle de la vanne est en position fermée,
serrer les écrous hexagonaux sur le support,
comme il est montré.
Hex Nut
11.2
Set gate control (C-9) in forward
position as shown.
Fije el control de la compuerta
(C-9) en posición delantera como
se muestra.
Régler le contrôle de la vanne
(C-9) en position vers l’avant,
comme il est montré.
C-9
14

Related product manuals