EasyManua.ls Logo

CHIEF AA Series - Installation Procedure; Preinstallation and Site Determination; Attaching Horizontal Connectors

CHIEF AA Series
20 pages
Print Icon
To Next Page IconTo Next Page
To Next Page IconTo Next Page
To Previous Page IconTo Previous Page
To Previous Page IconTo Previous Page
Loading...
Installation Instructions TIL1X2AA / TIL1X3AA / TIL1X4AA / TILVABAA
5
INSTALLATION
Preinstallation
IMPORTANT ! : Reference the LED module installation
manual for specific instructions regarding care, handling,
cabling and installation of the LED modules.
CAUTION: Handle the LED modules with care, being
careful to not impact or drop the LED module.
CAUTION: There is a magnetic surface on the front of the
LED module. To prevent damage ensure that no metallic
object is pulled onto the LED module.
NOTE: When planning the installation, remember the
requirement to run power and signal to the video wall.
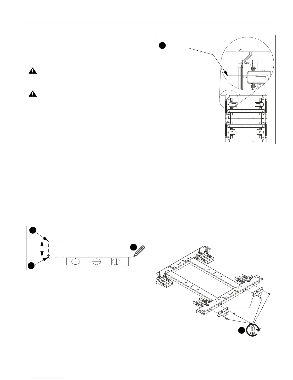
Determining Installation Site
IMPORTANT ! :
The top of the LED housing is 5" above
the center line of the mounting slots. (See Figure 1)
1. Determine location for the top left corner of the LED wall.
(See Figure 1)
2. Make a mark 5" below the planned top left corner of the LED
wall. (See Figure 1)
3. Using a level, mark a horizontal line across width of LED
wall from the mark made in Step 2.
NOTE:
This line will indicate the center line of the mounting slots
for the top mount(s) in the LED wall. (See Figure 1) and
(See Figure 2)
Figure 1
Figure 2
(OPTIONAL) Attaching Horizontal Connectors
NOTE: The horizontal connectors (A) must be attached if the
LED wall will be wider than one mount.
NOTE: It will be easier to attach the connectors before
installing the mount to the wall. However, the
connectors may still be attached after the wall mount is
already on the wall.
1. Lay mount on floor and place horizontal connectors (A)
against right edge of wall mount. (See Figure 3)
2. Attach two connectors to each wall mount using two 1/4-20
x 1/2" button head cap screws (B) per horizontal connector.
(See Figure 3)
Figure 3
Location for top left corner of LED wall
1
2
5"
3
5”
5”
[TIL1X2AA shown as example]
3
Mounting slot
center line

Related product manuals