EasyManua.ls Logo

Cisco 1000 Series - Connect Antenna to Cisco Router

Cisco 1000 Series
96 pages
Print Icon
To Next Page IconTo Next Page
To Next Page IconTo Next Page
To Previous Page IconTo Previous Page
To Previous Page IconTo Previous Page
Loading...
Grounding12Kensington lock slot11
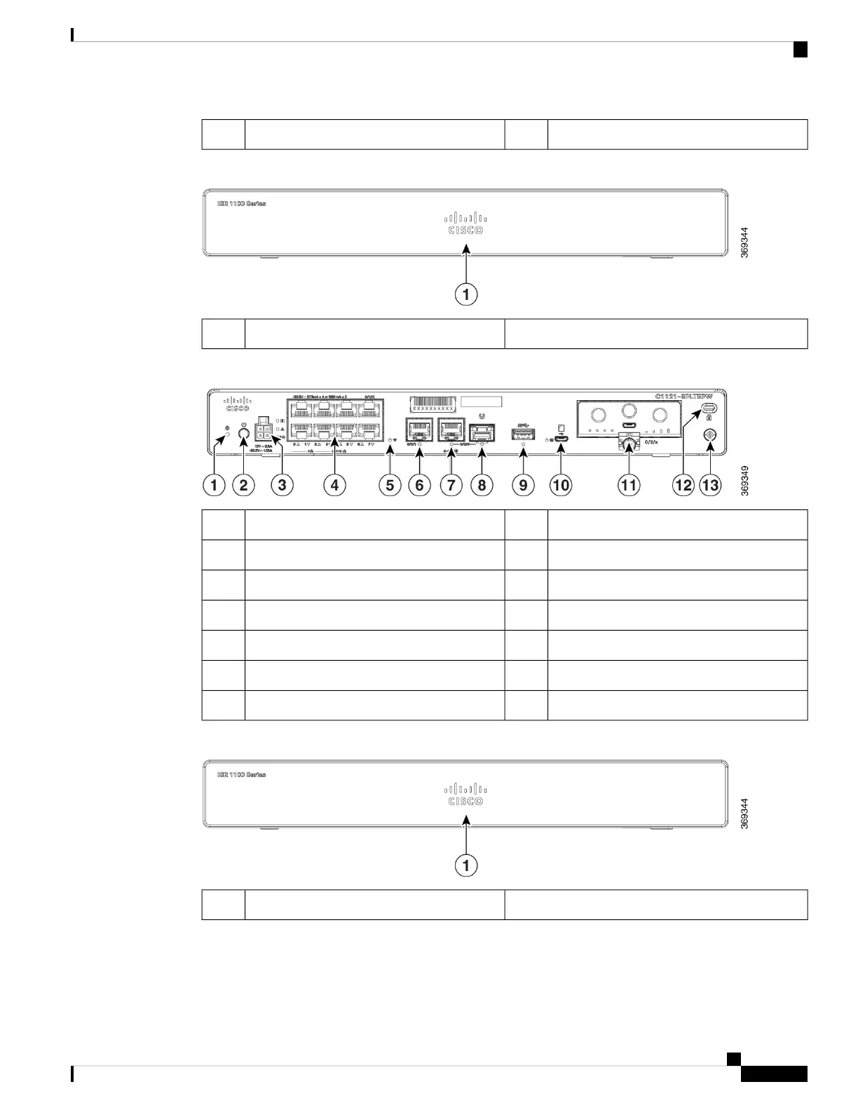
Figure 16: C1121-8PLTEPWx Bezel View
Non-illuminated Cisco logo1
Figure 17: C1121(X)-8PLTEPW I/O View
Power switch2Reset button1
Ethernet switch44-pin power connector3
GE 0/0/16Wi-Fi status5
GE WAN 0/0/0 -SFP8GE WAN 0/0/0 -RJ457
USB 3.010Micro-USB console9
Kensington lock slot12Pluggable11
Grounding13
Figure 18: C1127X-8PLTEP Bezel View
Non-illuminated Cisco logo1
Hardware Installation Guide for the Cisco 1000 Series Integrated Services Router
11
Overview of Cisco 1000 Series Integrated Services Routers
Chassis Views

Table of Contents

Other manuals for Cisco 1000 Series

Related product manuals