EasyManua.ls Logo

Cisco ASR 9904 - Installing an AC or DC Power Tray into a Cisco ASR 9000 Series Router

Cisco ASR 9904
284 pages
Print Icon
To Next Page IconTo Next Page
To Next Page IconTo Next Page
To Previous Page IconTo Previous Page
To Previous Page IconTo Previous Page
Loading...
Installing an AC or DC Power Tray into a Cisco ASR 9000 Series Router
Follow these steps to install an AC or DC power tray into the chassis:
Procedure
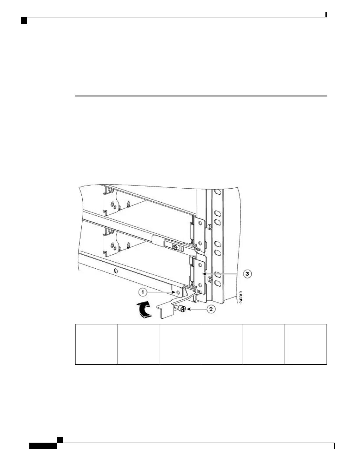
Step 1 Slide the power tray into the bay until it engages its mating connector on the chassis. The ejector levers will
partly rotate inward as you do this.
Step 2 Fully rotate the ejector levers inward to fully seat the power tray into its mating connector and seat the power
tray mounting ears against the chassis mounting ears. The figure Rotating the Ejector Levers Inward to Seat
the Version 1 Power Tray shows how to install the version 1 power trays and the figure Rotating the Ejector
Levers Inward to Seat the Version 2 Power Tray shows how to install the version 2 power trays. The installation
of version 3 power trays is similar to the installation of version 2 power trays, as shown in the figure Rotating
the Ejector Levers Inward to Seat the Version 2 Power Tray. When the power tray is fully seated, the captive
screw in each ejector aligns with the screw hole in the power tray frame.
Figure 218: Rotating the Ejector Levers Inward to Seat the Version 1 Power Tray
Power tray
mounting ear
3Ejector lever
captive screw
2Screw hole in
the power tray
frame for ejector
lever captive
screw
1
Cisco ASR 9000 Series Aggregation Services Router Hardware Installation Guide
244
Replacing Cisco ASR 9000 Series Router Components
Installing an AC or DC Power Tray into a Cisco ASR 9000 Series Router

Table of Contents

Other manuals for Cisco ASR 9904

Related product manuals