EasyManua.ls Logo

Cisco UCS C Series - Windows Activation, Product Key, and EULA; Windows Drivers for the UCS Server

Cisco UCS C Series
18 pages
Print Icon
To Next Page IconTo Next Page
To Next Page IconTo Next Page
To Previous Page IconTo Previous Page
To Previous Page IconTo Previous Page
Loading...
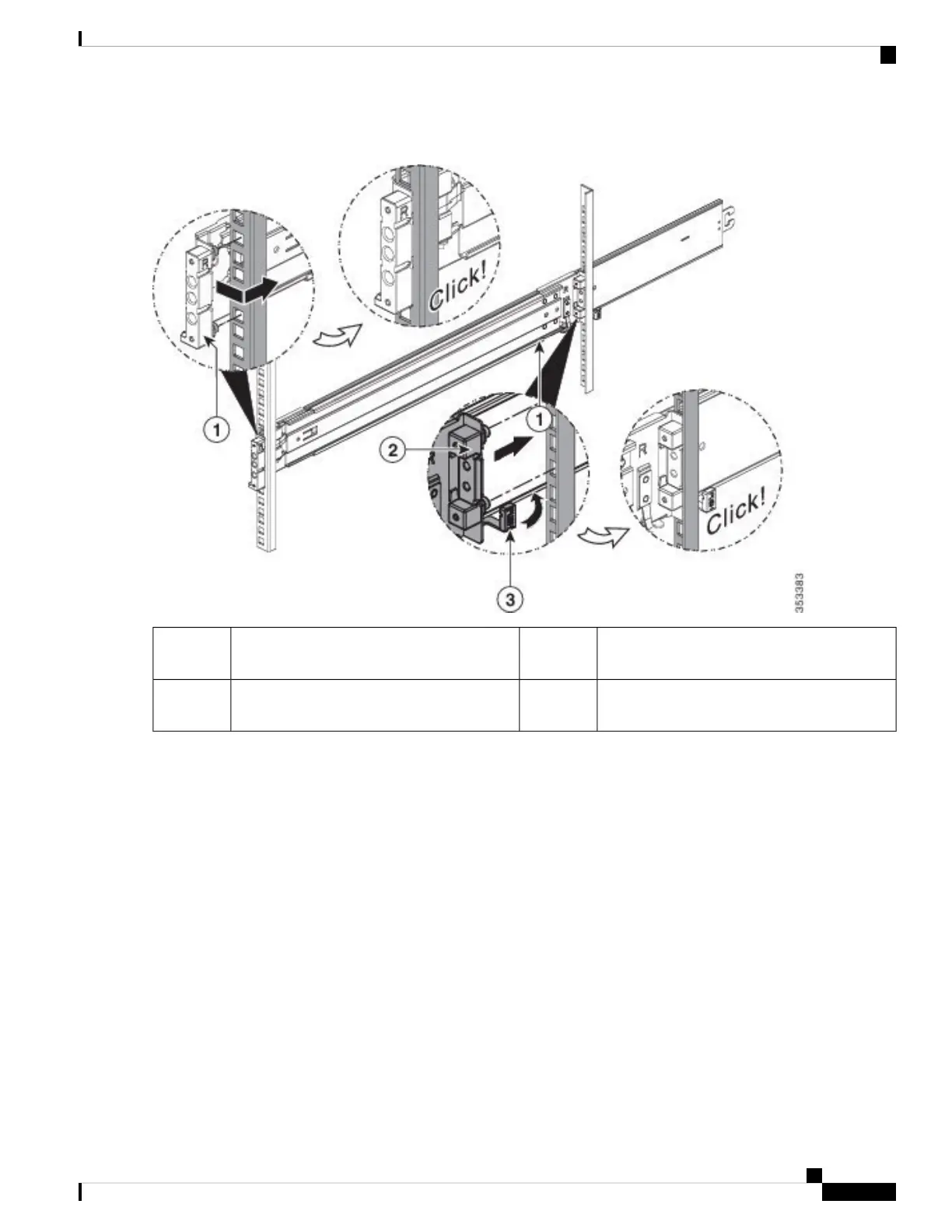
Figure 3: Attaching the Rail Assembly to the Rack Post
Rear peg spring-latch3Front mounting pegs, entering rack-post holes
from the outside front
1
-Rear mounting pegs, entering rack-post holes
from inside rear
2
Step 4 Pull the inner slide rails on each assembly out toward the rack front until they hit the internal stops and lock in place.
Step 5 Insert the server into the slide rails:
This server can weigh up to 146 pounds (66.2 kilograms) when fully loaded with components. We recommend
that you use a minimum of two people or a mechanical lift when lifting the server. Attempting this procedure
alone could result in personal injury or equipment damage.
Caution
The rack rail channels are fragile to side loads. Install the chassis gently to avoid damaging the rails.
Note
a) Align the rear ends of the inner rails that are attached to the server sides with the front ends of the empty intermediate
rails on the rack.
Ensure that the inner rails on the chassis are parallel with the intermediate rails on the rack. This could
require adjusting the mechanical lift position up-down and left-to-right. Consider using shims if your lift
does not support these motions. The ends of the inner rail must align up-down and side-to-side with the
ends of the intermediate rails.
Caution
b) Very slowly push the chassis toward the rack. Ensure that the rail ends mesh to each other and are fully engaged at
the top and bottom of the rail channels.
Installing the Server
7
Installing the Server
Installing the Server in a Rack

Other manuals for Cisco UCS C Series

Related product manuals