EasyManua.ls Logo

Citizen C023 - Using the Digital Display; Digital Time Display System; Setting Time, Calendar, and Alarm

Citizen C023
15 pages
Print Icon
To Next Page IconTo Next Page
To Next Page IconTo Next Page
To Previous Page IconTo Previous Page
To Previous Page IconTo Previous Page
Loading...
5. USING THE DIGITAL DISPLAY
Notes on nomenclature for the digital display instructions
! The circled portions flash
! A confirmation sound is heard when operating the button marked with
the digital section contains the time and dive meter systems
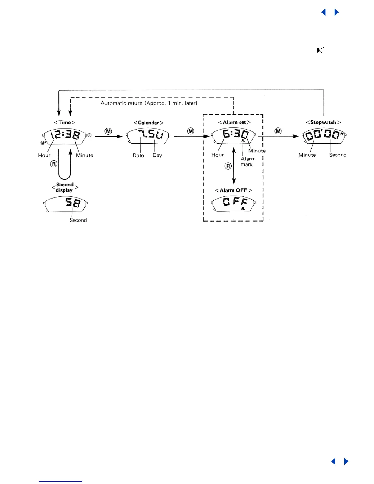
Time display system
A). Changing to the Digital Time Display system.
(How to read seconds)
Seconds are displayed only while the (R)(upper right) button is pressed in
the time display mode.
Whether the alarm is ON or OFF, if the alarm display is left displayed for
about 1 minute, the time display will automatically return and replace the
alarm display (Automatic Return Feature)
B) Time, Calendar and Alarm Setting Methods
How to set the seconds
While in the time display, push the (S)(upper left) button until the second
display flashes on and off. Press the (R)(upper right) button to correct the
seconds
Note: if the (R)(upper right) button is pushed when the second display is
between 30 and 59 seconds, the digital minute will advance by 1 minute.
How to set the time, calendar and alarm
1. To set the time, calendar and alarm, push the (S)(upper left) button in
each respective display mode until the correction mode is obtained (digits
flashing)
2. Any mode can be independently corrected. Select the mode that you wish to
correct by pressing the (S)(upper left) button. The mode to be corrected
will flash on and off.
Set the mode with the (R)(upper right) button.
Each push of button (R)(upper right) advances the figures by one, a
continuous push of button (R)(upper right) will cause the digits to advance
rapidly.
3. After the setting is finished, the mode returns to the previous state in
which it had been set by pushing the (M)(lower left) button. (Instant
manual return)
Any time a particular mode is left displayed for 4-5 minutes, it will
automatically return to the previous state in which it had been set.
(Automatic return)
Return to Table of Contents
Return to Table of Contents

Related product manuals