EasyManua.ls Logo

Citizen C023 - Changeover Between Time and Dive Meter Systems; Changing Over to the Dive Meter System

Citizen C023
15 pages
Print Icon
To Next Page IconTo Next Page
To Next Page IconTo Next Page
To Previous Page IconTo Previous Page
To Previous Page IconTo Previous Page
Loading...
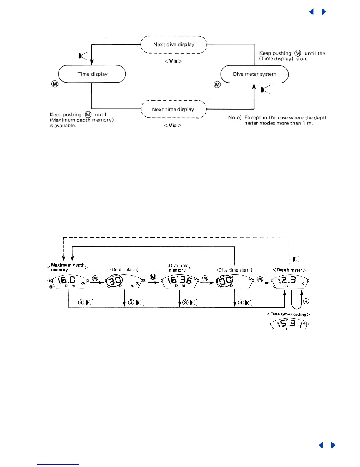
7.
Changeover between the time display and dive meter systems
When changing over between the time display and dive meter systems, keep
pushing the (M)(lower left) button until a confirmation tone is heard in any
mode (except correction mode) Example:
Time Display System Dive Meter System
<Time Display> -> <Calendar Display> -> <Maximum depth Memory>
Dive Meter System Time Display System
<Maximum Depth Memory> -> <Depth Alarm> -> <Time Display>
If the dive meter system does not operate properly, the time display will
not be replaced by the dive meter system (fail safe operation system)
At this time, the DM mark on the display flashes on and off. In this case,
have it checked by the nearest Authorized Citizen Service Center.
When the power cell life indicator is in operation, the dive meter system
cannot be called up. (Fail safe operation system)
8. Changing over to the dive meter system
The depth meter is displayed by pushing the (S)(upper left) button in any
mode of the four-numbered 1 to 4.
To change the mode from the depth meter to the maximum depth memory, push
the (S)(upper left) button when the display dept value is 0m(0ft).
If the depth value of 0m(0ft) remains displayed for 30 to 40 minutes, the
Maximum depth memory will automatically return to the mode. (Automatic
Return)
The depth meter mode is replaced by the dive time mode when the ® button is
pushed.
Return to Table of Contents
Return to Table of Contents

Related product manuals