EasyManua.ls Logo

Citizen JCTV1586 - Choix de la Langue; Raccordement a la Cablodistribution

Citizen JCTV1586
56 pages
Print Icon
To Next Page IconTo Next Page
To Next Page IconTo Next Page
To Previous Page IconTo Previous Page
To Previous Page IconTo Previous Page
Loading...
12
POUR LES ABONNES AUX SERVICES DE CABLODISTRIBUTION A CANAUX
BROUILLES
UHF/
VHF
SYSTEM SET-UP
CLOCK SET
LANGUAGE/IDIOMA/LANGUE
AUTO CLOCK ON OFF
STANDARD TIME
DAYLIGHT SAVING TIME
+//ENTER/MENU
M E N U
TIMER REC SET
TV SET-UP
CH SET-UP
AUTO REPEAT ON OFF
SYSTEM SET-UP
+//ENTER/MENU
Ce téléviseur/magnétoscope effectue laffichage des
informations à l’écran en 3 langues; anglais, espagnol
ou français. Le choix de la langue (étape 3) apparaît
automatiquement à l’écran quand vous pressez sur
la touche MENU pour la première fois. Choisissez la
langue pour utiliser les autres options de menu.
2 Pressez la touche SET/TRACK-
ING + ou pour choisir l'option
de la sélection de la langue
d'affichage (LANGUAGE), puis
pressez la touche ENTER.
3 Pressez la touche SET/
TRACKING + ou pour choisir
la langue désirée: français
(FRANCAIS), anglais (ENG-
LISH) ou espagnol
(ESPAÑOL), puis pressez la
touche ENTER.
4 Pressez de nouveau la touche
MENU jusqu'à ce que l'écran
MENU disparaisse.
ENGLISH
ESPAÑOL
FRANCAIS
+//ENTER/MENU
LANGUAGE/IDIOMA/LANGUE
Ce téléviseur/magnétoscope a une gamme de syntonisation étendue et peut capter la plupart des canaux sans
utiliser un convertisseur. Certaines compagnies de câblodistribution permettent le visionnement de "canaux
payants" dont le signal est brouillé. Pour regarder ces signaux, un débrouilleur, en général fourni par la
compagnie, est nécessaire.
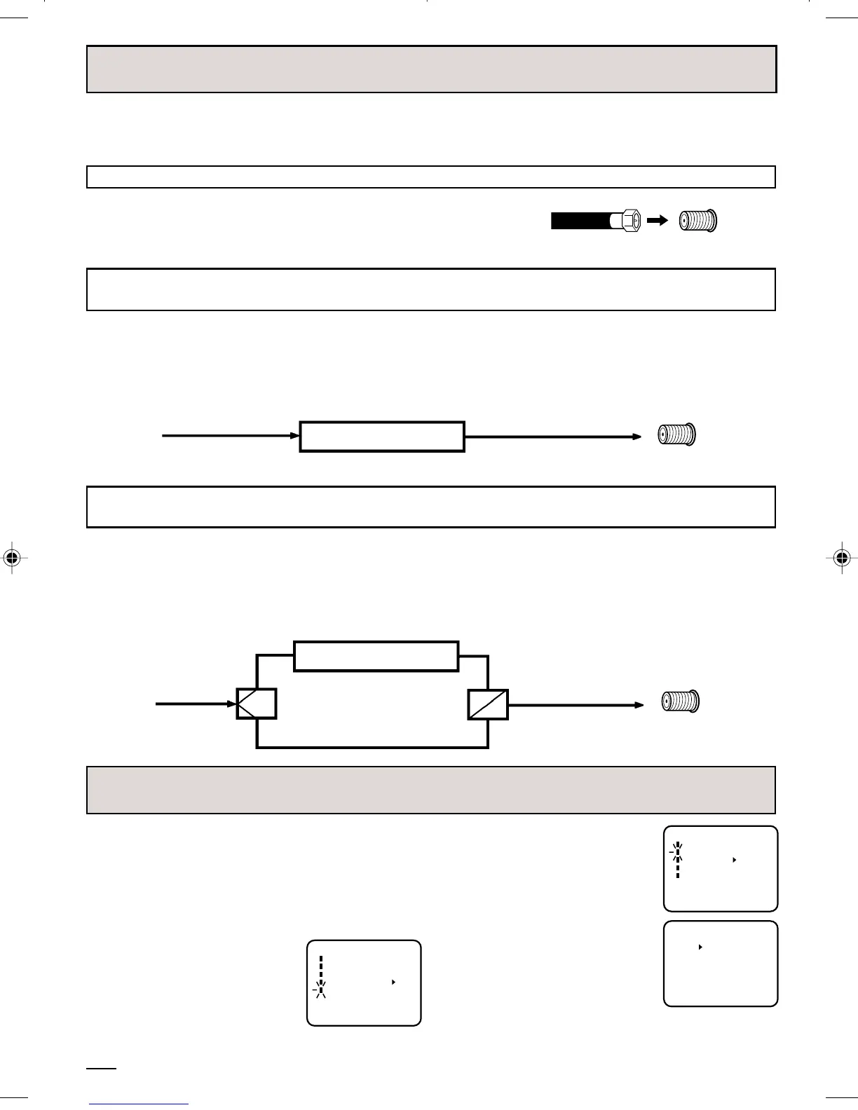
Pour les services de base du câble sans convertisseur/débrouilleur,
raccordez directement le câble coaxial 75 ohms de la
câblodistribution à la prise d'antenne, à l'endos de l'appareil.
Si vous êtes abonné aux services de câblodistribution exigeant l'utilisation d'un convertisseur/débrouilleur, raccordez
le câble coaxial d'entrée de 75 ohms au convertisseur/débrouilleur. Au moyen d'un autre câble coaxial de 75 ohms,
raccordez la prise de sortie du convertisseur/débrouilleur à la prise d'antenne du téléviseur. Suivez les instructions
ci-dessous. Réglez le téléviseur sur le canal de sortie du convertisseur/débrouilleur (en général 3 ou 4) et utilisez le
convertisseur/débrouilleur pour choisir le canal.
Câble coaxial 75 ohms
Si vous êtes abonné aux services de câblodistribution dont les canaux sont payants et brouillés, exigeant l'utilisation
d'un convertisseur/débrouilleur, il est peut-être nécessaire d'utiliser un séparateur et une boîte de commutation A/B
(vendus par l'installateur du câble ou dans tout magasin spécialisé). Quand le commutateur A/B est réglé à la
position "B", il est possible de syntoniser tous les canaux non brouillés en utilisant le système de syntonisation du
téléviseur/magnétoscope. Quand il est réglé à la position "A", il est possible de syntoniser le téléviseur sur le canal
de sortie du décodeur (en général 3 ou 4) et d'utiliser le convertisseur/débrouilleur pour syntoniser les canaux
brouillés.
Prise d'antenne
RACCORDEMENT A LA CABLODISTRIBUTION
POUR LES ABONNES AUX SERVICES DE BASE DE CABLODISTRIBUTION
POUR LES ABONNES AUX SERVICES DE BASE DE CABLODISTRIBUTION AVEC CANAUX
PAYANTS BROUILLES
CHOIX DE LA LANGUE
UHF/
VHF
Prise d'antenne
Câble d'entrée 75
ohms du câble
Câble 75 ohms vers le
téléviseur/magnétoscope
Convertisseur/
débrouilleur
UHF/
VHF
Prise d'antenne
Séparateur
B
A
Câble d'entrée
75 ohms du
câble
Commutateur
A/B
Câble 75 ohms vers
le téléviseur/
magnétoscope
Convertisseur/
débrouilleur
1 Pressez la touche MENU.
Pressez la touche SET/TRACK-
ING + ou pour choisir le mode
SYSTEM SET-UP, puis pressez
la touche ENTER.
5A3A501A F P10-17 4/3/2002, 9:1912

Table of Contents

Related product manuals