EasyManua.ls Logo

Clas Ohlson HP-51BFJP - Buttons and Functions; Aerial; [MODE] Switch; [▼] Frequency Setting

Clas Ohlson HP-51BFJP
32 pages
Print Icon
To Next Page IconTo Next Page
To Next Page IconTo Next Page
To Previous Page IconTo Previous Page
To Previous Page IconTo Previous Page
Loading...
3
English
10
11
1
2
9
8
7
6
3
4
5
Adjusting thefit
1. Brush any hair off your ears, remove any earrings, pull theear
cups apart and place them over your ears.
2. Position theear cups so that thecushions form atight
seal around ears. Make sure that no hair comes between
thecushions and your head.
3. Adjust theheadband. Hold theheadband down against your
head with one hand and push theear cups up until they sit
comfortably over your ears.
4. Theheadband should rest on thetop of your head and
theear cups should completely cover your ears.
Note: Theeffectiveness of theear defenders could be diminished
by thetemples of spectacles if they are worn under theear cups.
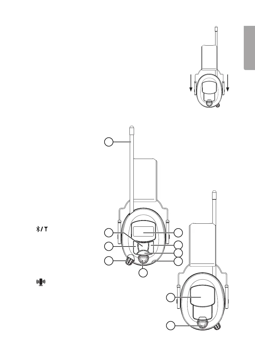
Buttons and functions
1. Aerial
2. [ MODE ] Switch between
modes, confirm
3. [ ] Frequency setting
lower/play previous track
4. [ OFF/ON ] Power switch,
volume control
5. Microphone
6. AUX-IN: Connection for
anexternal audio source
7. [
] FM radio/
Bluetooth selector
8. [ ] Frequency setting
higher/play next track
9. Display
10. Battery cover
11. [
] PTL (Press To Listen)
selector