EasyManua.ls Logo

ClearOne PSR1212 - Page 96

ClearOne PSR1212
145 pages
Print Icon
To Next Page IconTo Next Page
To Next Page IconTo Next Page
To Previous Page IconTo Previous Page
To Previous Page IconTo Previous Page
Loading...
Appendices ~ Appendix C: Control Panel
90
Technical Services Group ~ 1-800-283-5936 (USA) ~ 1-801-974-3760
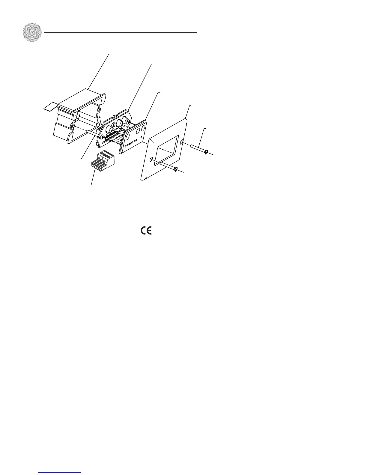
VOLUME CONTROL PANEL 910-155-051
FLAT HEADSCREWS (2)
INCLUDEDWITHFACEPLATE
460-155-001 FACEPLATE
740-155-051 FACIA PLATE
915-155-051 ASSEMBLY, VOLUME CONTROL PANEL INCLUDES:
820-155-051 VOLUME CONTROL PANEL PCB ASSEMBLY W/TWO FOUR-PIN PHOENIX CONNECTORS
740-155-052 CONTROL PANEL MOUNTINGBRACKET
625-100-006 ELASTOMER CONDUCTIVE RUBBER SWITCH PADS (3 EACH)
460-155-002WALL ENCLOS
URE 2.25 X3.25
681-010-616 SCREWS
(2) 6-32 X 1 INCH PPH
673-016-104
CONN TERM BLOCK/
F EURO 4 P
(2 EACH)
Figure C.6. Volume Control Panel Assembly
This equipment complies with the requirements of the European guidelines:
89/336/EEC “Electromagnetic Compatibility” and 93/68/EEC “Electrical
operating material for use within specific voltage limits.
This device complies with part 15 of the FCC rules. Operation is subject to the
following two conditions: (1) This device may not cause harmful interference, and (2)
This device must accept any interference received, including interference that may
cause undesired operation.

Table of Contents

Other manuals for ClearOne PSR1212