EasyManua.ls Logo

Clifford Matrix RS2 - Page 18

Clifford Matrix RS2
48 pages
Print Icon
To Next Page IconTo Next Page
To Next Page IconTo Next Page
To Previous Page IconTo Previous Page
To Previous Page IconTo Previous Page
Loading...
18
©
2001
Directed Electronics, Inc.
connected, you must teach the system the tach signal. (See the Programming Jumpers section of this
guide.)
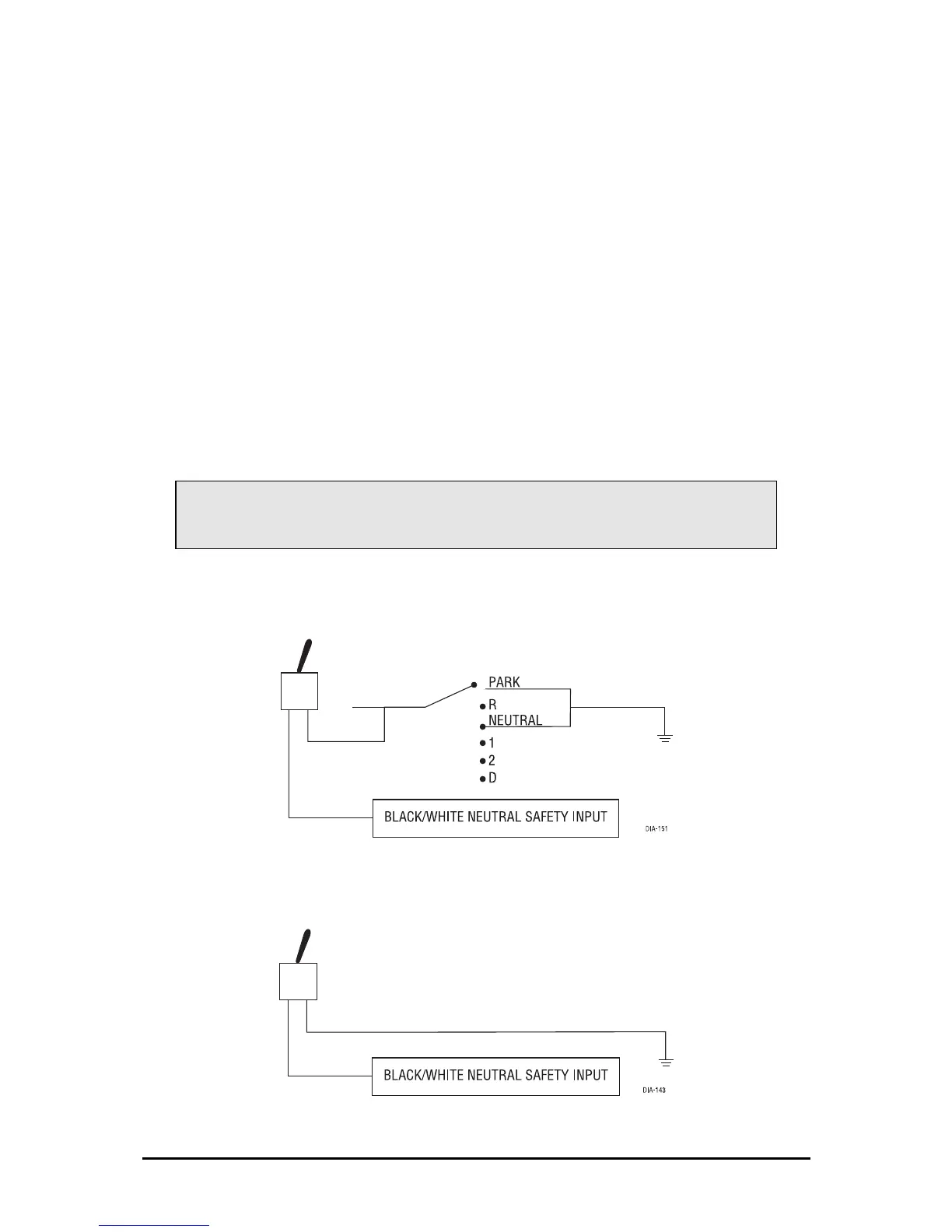
H3/6 BLACK/WHITE neutral safety switch input
Connect this wire to the provided toggle (override) switch as shown in figure A. Connect the other
wire from the toggle switch to the park/neutral switch in the vehicle. This wire will test with ground
with the gear selector either in PARK or NEUTRAL. This will prevent the vehicle from acciden-
tally being started while in a drive gear. This input MUST rest at ground in order for the remote
engine starting system to operate. Connected properly the vehicle will only start while in PARK or
NEUTRAL.
In some vehicles, the park/neutral position switch activates a factory starter lock out that will not
allow the starter to operate in a drive gear. In these vehicles, connect this wire to the toggle switch
as shown in figure B. Connect the other wire from the toggle switch to chassis ground.
FIGURE A
FIGURE B
IMPORTANT! Always perform the
Safety Check
section of this guide to verify that the
vehicle cannot be started in ANY drive gear and that the override switch is functioning
properly.

Table of Contents

Related product manuals