EasyManua.ls Logo

Cofem COMPACT LYON - Page 15

Cofem COMPACT LYON
60 pages
Print Icon
To Next Page IconTo Next Page
To Next Page IconTo Next Page
To Previous Page IconTo Previous Page
To Previous Page IconTo Previous Page
Loading...
Digital fire detection control panel
COMPACT LYON
FIRE PRETECTION MANUFACTURER 15
Ctra. de Molins de Rei a Rubí, Km. 8,4 - 08191 RUBÍ (Barcelona) ESPAÑA.
Tlf.: +34 935 862 690 - Fax:+34 936 999 261 - cofem@cofem.com - www.cofem.com
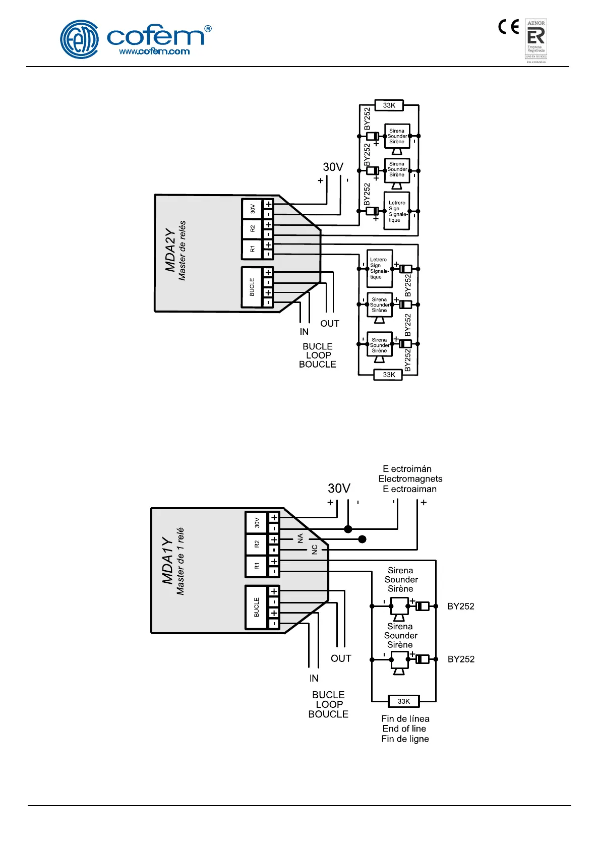
Figure 4. Connection Schematic
Figure 5. Connection Schematic
INP
U
T
INP
U
T

Related product manuals