EasyManua.ls Logo

Com G-95 - Toggling between Bands A;B;C;D

Com G-95
36 pages
Print Icon
To Next Page IconTo Next Page
To Next Page IconTo Next Page
To Previous Page IconTo Previous Page
To Previous Page IconTo Previous Page
Loading...
11
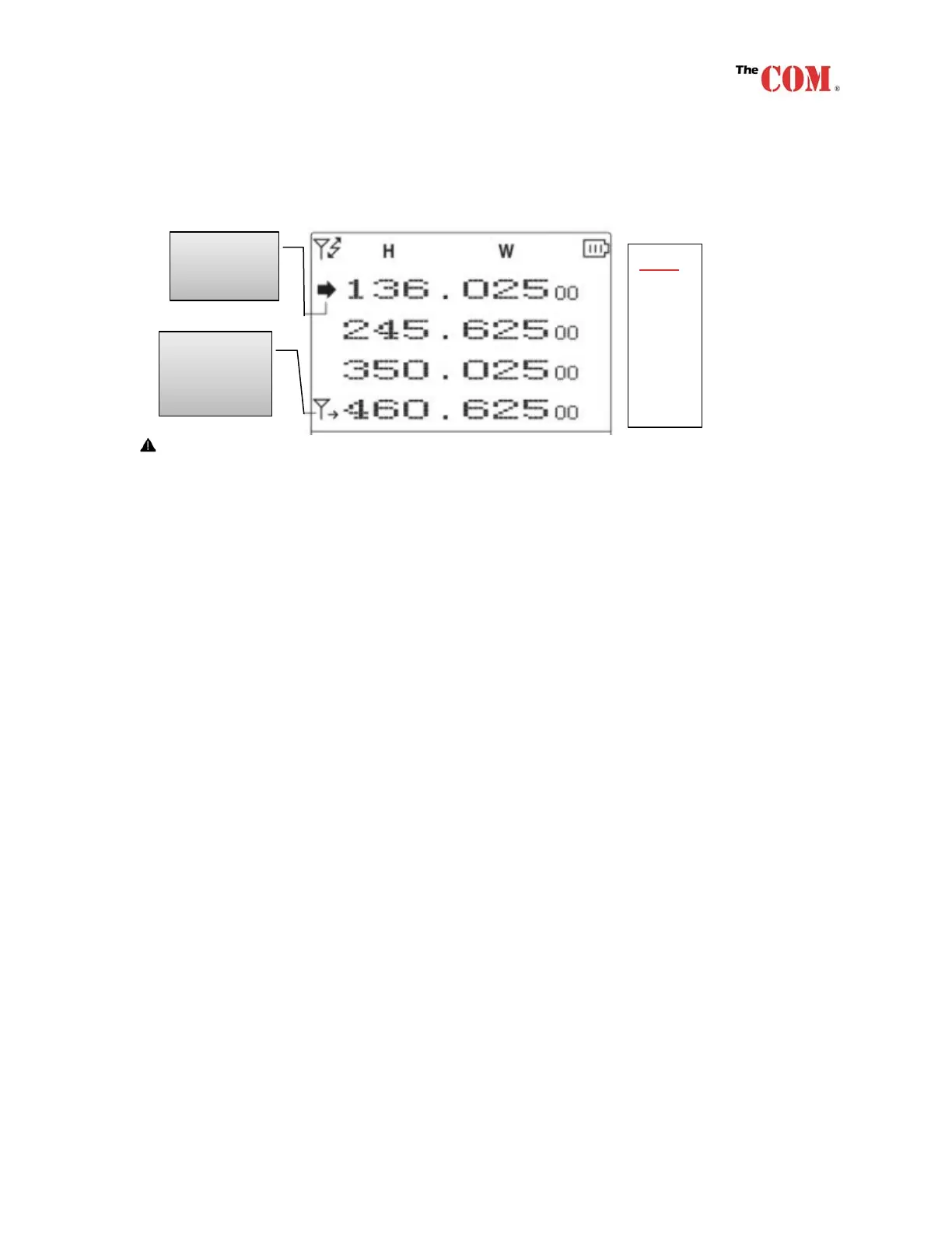
Toggling between Bands A/B/C/D
Pressing the “Exit/ABCD” will toggle between the four different band on the radio.
Channel programing has been disabled on this model to comply with FCC Part 95.
Current Main
Band
indicator.
Band
A
B
C
D
This Icon
shows that this
band is being
monitored