EasyManua.ls Logo

Commodore Plus 4 - Top View; Rear View

Commodore Plus 4
26 pages
Print Icon
To Next Page IconTo Next Page
To Next Page IconTo Next Page
To Previous Page IconTo Previous Page
To Previous Page IconTo Previous Page
Loading...
)f
Qf
JJ
--
""
;(4
)00
""
.\::
f3
-l.:
Se
--
~~
COLOR OUT
--~
<'('0
""'- ">
OJ
>>
vv
~~
~'-
II(~ ~r:
~'i)
;;
~'
'J
;;UI
120
'O~
Q2
OS 220{,
e4
<1<':>
Cs
~~
'A
""
VV
;:'3'11'
';:ISO!'
'"
L2
DI
,,000
-0
LUM oUT
/oµ '"~ ~<::>
11(",
I\:~
~~
C:J :'-
COMP our
-3eJOP
Il)B
$?<::>
~<::>
11(,
II(~
I\(':!.
lU8 <f.7)(~/o*
en
If?
~,
1<2/
OS "" C/9
R!.3
>> R.
IS
>> CC
12 ''
II
DV>3
.:J,
pp
'000'
120P
68;:;,'SO~
560
>>
R.14 C8 2.7k
~~ -331':;:'
g:
'H~
vv
~~
S60 1-70;:01' L4 ClO
rr
II <A
L6
<'I
~~
I~
qq
./ GJ
L.s
9-.' ~~
"I
0.. ""
00,
SP
CI
I-,j"
v~-I
t~:
Iyl-
II
??
~6
Cd, Cl8 L?(
~.
~<
"" ",H
LL
t--
:-§
"7
'9
C9,==
-I(
~~ -l<
CIs
It:~:
<>- ~~--
-33
P:
J'?
p:';;
<<
==
"-
'-
XfJp
-r-
~~
'V '"
~f-
'J
22P
~t--
221' ~~ '-
~~
"/
<--
:';;22f>
'<
l(
~~
'"
1'-'
'" 1\:";-
Qz
\j
II(
-n
'8
--j'
~;;.
>>
ll
i~
1<27 0<1-
R2J
0(",
QQ
cc
II
J.31<---J.2K
sol'
<;
II
2.2k
C2/
'---
~~
--
c22
vv
~~
::
';;IIXJP
/OP-
C20
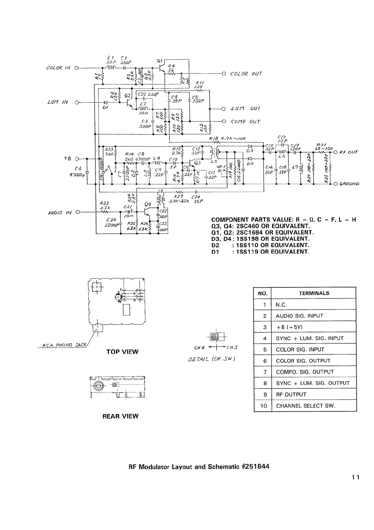
COMPONENT PARTSVALUE: RR
==
n.
CC
==
F.
2200r
~2S
R26
p3
6.81<
6.8k·
::
~():)p
Q3. Q4: 2SC460 OR EQUIVALENT.
Q1. Q2: 2SC1684 OR EQUIVALENT.
LL
ff
(I
COLO~ IN
LUH IN
RF oUT
t8
(iRO(JND
AUDIO IN
LL
==
HH
03. 04: 1SS198 OR EQUIVALENT.
02 ::1SS110 OR EQUIVALENT.
01 ::1SS119 OR EQUIVALENT.
~u
ll
.~
r--h
II
II
~!
TOP VIEW
-!1ft
CH4-
44
II
"CH3
NO.
TERMINALS
11
N.C.
22
AUDIO SIG. INPUT
33
+B (+5V)
44
SYNC + LUM. SIG. INPUT
55
COLOR SIG. INPUT
66
COLOR SIG. OUTPUT
77
COMPO. SIG. OUTPUT
88
SYNC + LUM. SIG. OUTPUT
99
RF OUTPUT
10
CHANNEL SELECTSW.
'1
oo
""
'--I
,,
RCA. PHONO
JACK
D.ETAIL (CH .S'N)
,,
tiLL
--
--
REAR VIEW
RF Modulator Layout and Schematic #251844
11

Other manuals for Commodore Plus 4

Related product manuals