EasyManua.ls Logo

Conrad Escort 97 - Page 11

Conrad Escort 97
28 pages
Print Icon
To Next Page IconTo Next Page
To Next Page IconTo Next Page
To Previous Page IconTo Previous Page
To Previous Page IconTo Previous Page
Loading...
If the "DUAL" button is pressed and held while switching on the
measuring instrument, then the measuring instrument RS-232 in-
terface is activated, visible through the "RS232" symbol in the left
upper corner of the display.
g) Button (white/yellow, under "Peak")
The backlight is switched on or off with this button; the backlight
switches itself off automatically after approx. 30s, but consumes
battery energy.
Its second function is to change the resolution of both displays,
selecting between 3 3/4-digit and 4 3/4-digit. For this, the button
must be pressed and held for longer than approx. 1s.
If the button is pressed and held while switching on the measuring
instrument, this disables the automatic backlight switch-off after
30s. This means that the backlight remains on until the battery is
exhausted (empty).
h) Hz
During voltage or current measurement, this button is used to
select between frequency measurement, mark-to-space ratio indi-
cation and pulse width measurement. Operate the button during
voltage or current measurement. Voltage or current (DC or AC or
DC+AC) is indicated in the small display. Frequency is indicated in
the large display. Pressing the button again (briefly) brings mark-to-
space ratio indication (in %). Pressing the button yet again (briefly)
produces the display of pulse width (in ms for one half-cycle). Ope-
rating the button for longer than approx. 1s returns the display to
"normal" voltage or current measurement.
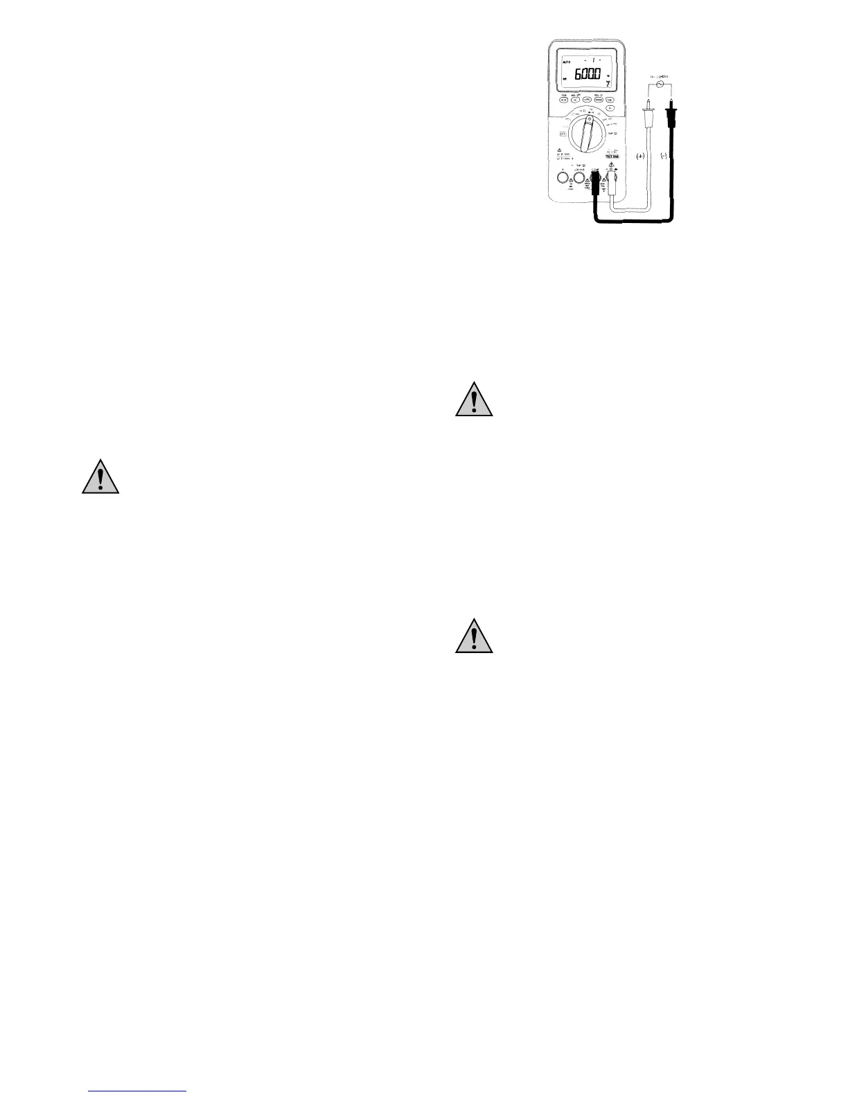
C3 Switch or socket assignment
a) Measuring function switch or rotary switch
On no account should the measuring function
switch be moved during measurement, as this can
72
4. Mit dem Taster “Hz” können Sie das Puls-Pausenverhältnis (in
%) oder die Pulsbreite (in ms) des anliegenden Meßsignales er-
mitteln. Einmal drücken: Anzeige des Puls-Pausenverhältnisses
in %. Zweimal drücken: Pulsbreitenanzeige in ms (Halbwelle).
Drittes Mal drücken: Rückkehr zur Frequenzanzeige in Hz.
J Kapazitätsmessung
Entladen Sie jeden Kondensator, bevor Sie ihn mit
dem Meßgerät verbinden. Beim Kurzschließen von
Kondensatoren können energiereiche Entladungen
stattfinden. Vorsicht in Räumen in welchen sich
Stäube, brennbare Gase, Dämpfe oder Flüssigkei-
ten befinden oder befinden könnten. ==> Explosi-
onsgefahr!
Berühren Sie nicht die Anschlüsse bei Kondensato-
ren mit Spannungen größer 35 VDC bzw. 25 VAC.
41
d) "REL"
With reference value measurements, the difference between the
stored value and the present measured values is indicated. This
special function is particularly helpful with slowly-changing measu-
red values or when establishing small resistances while ignoring
the resistance of the test leads.
The bar graph indicator functions during this as a so-called balance
indicator (+/-).
The function is switched on by pressing the "REL" button. During
"OL" (= Overload) indication, for example during resistance measure-
ment, the function cannot be activated. The two test probes must
first be held together and then the "REL" button pressed. As a
result, the triangle symbol appears on the left above the main
display; reference value measurements can begin.
To exit this function, press the "REL" button again.
If the "REL" button is pressed and held while the measuring instru-
ment is being switched on, then the signal generator in the unit is
switched off.
e) "RANGE"
If the measuring instrument is in "Auto-Range" mode, made visible
by the "AUTO" symbol, the measuring ranges switch automatically.
Press the "RANGE" button once. This selects the "manual range
selection" mode. Each time "RANGE" is pressed, the measuring
range moves one step higher, visible through the shifted decimal
point.
To exit the manual range selection, press the "RANGE" button for
longer than approx. 1s.
The second function of the button is that during dBm measurement
the input impedance can be set to between 4 and 1200 Ohm.
If the "RANGE" button is pressed and held while switching on the
measuring instrument, then both the small and large displays are
switched from 3 3/4-digit display to 4 3/4-digit.
70
Stecken Sie den Stecker des Thermoelementes polungsrichtig
(schmale und breite Kontaktzunge) in den TEMP-Meßsockel.
Schließen Sie keine Spannungen an. Das Gerät
kann dadurch zerstört werden.
3. Halten Sie den Temperatursensor (Leitungsende) an/in das span-
nungslose Meßmedium (Kühlkörper usw., aber keine Flüssig-
keiten!).
L Rechteckausgang
Im DMM befindet sich eine Art “Funktionsgenerator”, welcher an
den mittleren Meßbuchsen eine begrenzt variable Frequenz von
0,5 Hz bis 4,8 kHz mit einer fixen Spannung (=Amplitude) von 3V
liefert. Die Funktion “Auto-Power-Off” (automatische Abschaltung)
ist beim Betrieb als Signalgenerator nicht aktiv.
Zur Abgabe eines TTL-Pegels mit begrenzt variabler Frequenz ge-
hen Sie folgt vor:
1. Verbinden Sie die schwarze Meßleitung mit der Buchse “COM”
am Meßgerät und die rote Meßleitung mit der Buchse “uA /
mA”.
2. Stellen Sie den Drehschalter auf “TEMP”.
3. Betätigen Sie einmal den Taster “PEAK”. Daraufhin blinkt das
Signal-Out-Symbol oben links. In der Grundstellung ist eine Fre-
quenz von 600 Hz mit einem Puls-Pausenverhältnis von 50%
eingestellt.
4. Verbinden Sie die Meßspitzen mit dem Meßobjekt und folgen
Sie, falls erforderlich, folgender Tasteneingabe für die Einstellung
der Ausgangsfrequenz:
43

Related product manuals