EasyManua.ls Logo

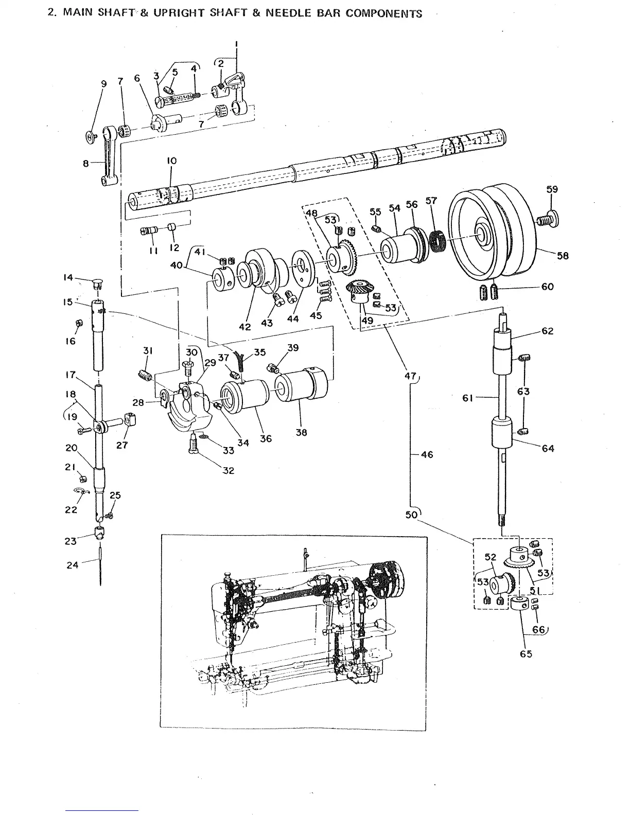
Consew DLS600 - 2. Main Shaft & Upright Shaft & Needle Bar Components

Consew DLS600
31 pages
Print Icon
To Next Page IconTo Next Page
To Next Page IconTo Next Page
To Previous Page IconTo Previous Page
To Previous Page IconTo Previous Page
Loading...

Related product manuals