EasyManua.ls Logo

Consul 2.25 EMC - Chain Break Switch H264;H265;H325

Consul 2.25 EMC
80 pages
Print Icon
To Next Page IconTo Next Page
To Next Page IconTo Next Page
To Previous Page IconTo Previous Page
To Previous Page IconTo Previous Page
Loading...
OPERATING & INSTALLATION INSTRUCTION 2-POST-LIFT
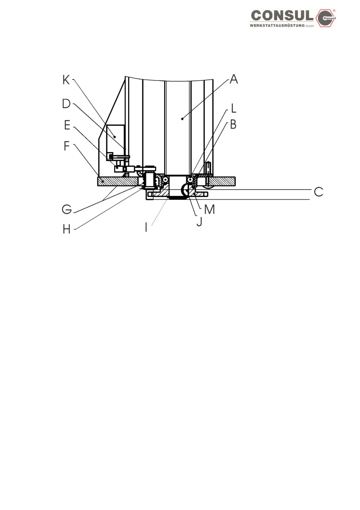
Chain break switch H264/H265/H325
A = spindle
B =bearing holder
C = chain
D = cover for the limit switch
E = confirm shaft
F = column (column base plate)
G = compression spring
H = connection element
I = safety ring
J = woodruff key
K =limit switch complete
L =bearing
M = chain wheel
After trial runs with a nominal load, the chain break switch should be checked for
trouble-free operation and readjusted if necessary!
Page 38

Table of Contents

Related product manuals