EasyManua.ls Logo

Coseng C211 C - 9 Trouble Shooting Guide

Coseng C211 C
30 pages
Print Icon
To Next Page IconTo Next Page
To Next Page IconTo Next Page
To Previous Page IconTo Previous Page
To Previous Page IconTo Previous Page
Loading...
- 12 -
Fig 10
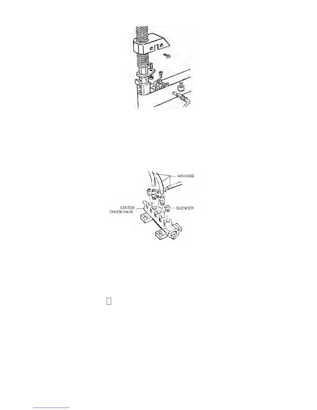
8) To clean or replace the center chuck value, remove the side cover, which is located on
the left side of the body assembly, by unscrewing the six screws.
9) Remove the air hoses from the center chuck valve.
10) Clean the center chuck valve, using a jet of compressed air. Or if necessary, replace the
unit.
11) For cleaning or replacing the bead breaker valve, follow steps 8, 9 and 10
above.(Fig.11)
Fig.11
9.TROUBLE SHOOTING
1)
A) Situ.
Turntable does not rotate.
B) Reas.
a) The power plug S is not inserted or no power from the mains electric supply.
b) The problem with motor.
c) Reverse pedal broken.
d) Belt loosen or broken.
C) Disp.
a) Insert the plug correctly and reset the mains electric supply.
b) Check for loose wires in the motor.
c) Check and repair entire reverse assembly.
d) Regulate or replace the belt.
2)
A) Situ.