EasyManua.ls Logo

Craftmade Sonnet - Remote and Wall Control Operation; Fan Testing Procedure

Craftmade Sonnet
12 pages
Print Icon
To Next Page IconTo Next Page
To Next Page IconTo Next Page
To Previous Page IconTo Previous Page
To Previous Page IconTo Previous Page
Loading...
page 10
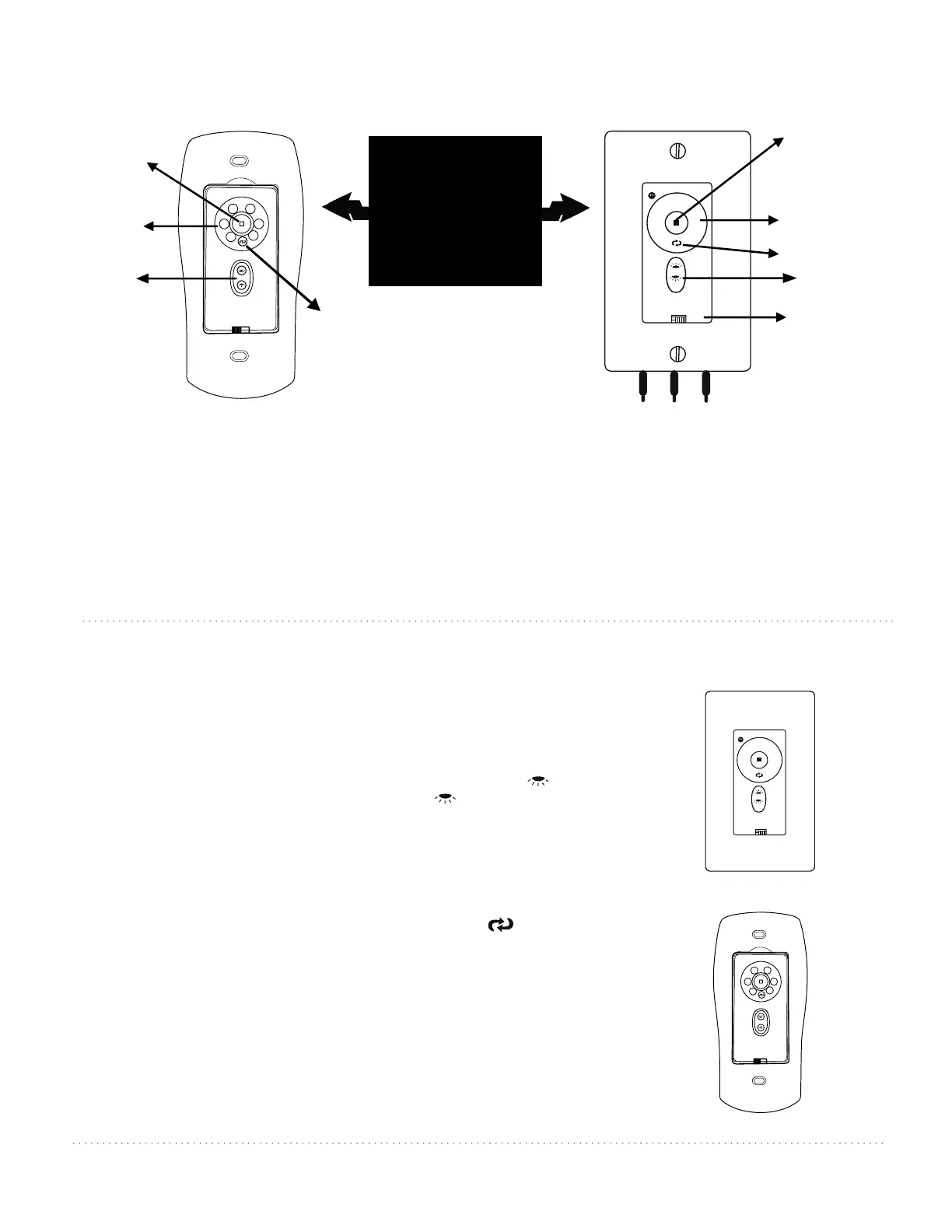
Fan SPEED control buttons--1: Use to control the ceiling fan speed 1-6
Fan OFF button--2: Use to turn the fan off
REVERSE function button--3: Use to control fan direction
LIGHTING button--4: Use to control down-light and up-light (if applicable)
ON/OFF slider switch--5: [Wall control only] Use to turn wall control ON or OFF
IMPORTANT:
Handheld remote
control and wall
control must be
SYNCHRONIZED with
fan in order to
properly function.
handheld
remote control
wall control
4
3
1
5
I
OFF ON
II
III
IV
V
VI
2
12. Remote/Wall Control Operation.
13. Testing Your Fan.
It is recommended that you test fan before finalizing installation.
Restore power from circuit box and wall switch (if applicable). Test wall
control (optional installation) by locating ON/OFF slider switch on wall
control, then set to the ON position. Test light and dimmer function and
then test fan speeds. Next, locate handheld remote control. Test fan
speeds with the different fan speed buttons (I - VI) on handheld
remote control.
Test the light ON/OFF function by pressing the
button; test the dimmer function by pressing the button and
holding it down for 1 second.
If the remote control operates all of the
functions of the fan, battery has been installed correctly. If the wall
and/or remote controls do (does) not operate all of the fan functions,
refer to "Troubleshooting" section to solve any issues before contacting
Customer Service.
Fan must be on LOW before setting the fan in reverse. Use button
to recirculate air depending on the season. A ceiling fan will allow you
to raise your thermostat setting in summer and lower your thermostat
setting in winter without feeling a difference in your comfort.
NOTE: If the wall control/handheld remote control interferes with other
appliances, activate a new code on the wall control/ handheld remote
control by turning the power off first. Go back to the instructions for
the SET button in Section 11 (page 9).
IMPORTANT: Handheld remote control and wall control must be
synchronized with fan in order to properly function.
I
II
IV
VI
III
V
4
1
2
3
I
II
IV
VI
III
V
I
OFF ON
II
III
IV
V
VI
IMPORTANT: The Automated Learning Process takes approximately 5 minutes to complete. Please
leave the fan “ON” for the duration of the 5-minute programming and do NOT use the
remote control or turn off the power during this time.
The fan will cycle through ALL SIX (6) speeds in forward and reverse and will then stop
automatically after the learning process is complete.

Related product manuals