EasyManua.ls Logo

Craftsman 124.32607 - Page 71

Craftsman 124.32607
100 pages
Print Icon
To Next Page IconTo Next Page
To Next Page IconTo Next Page
To Previous Page IconTo Previous Page
To Previous Page IconTo Previous Page
Loading...
119
118
112
113
116
117
111
103
114
88
115
110
/ 109
122 108
j_
106
\
105 104
107
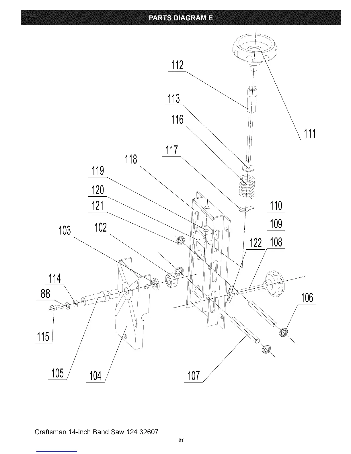
Craftsman 14-inch Band Saw 124.32607
21

Related product manuals