EasyManua.ls Logo

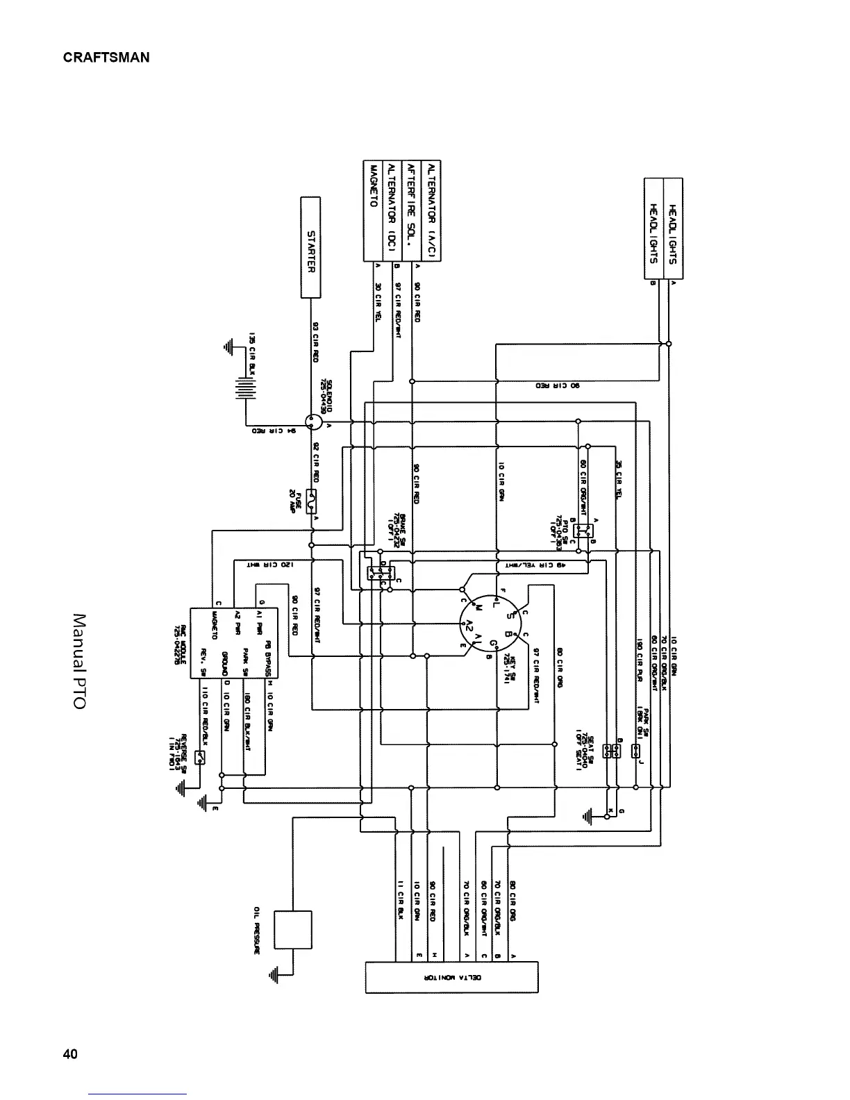
Craftsman 28906 - Electrical Schematics; Manual PTO System Schematic

Craftsman 28906
43 pages
Print Icon
To Previous Page IconTo Previous Page
To Previous Page IconTo Previous Page
Loading...
CRAFTSMAN
c
"13
-t
©
i_!E
',Ill-
,11
T
O]lU ul:) 1,6
.i.xl ulo o_!
!°
o
n
| |
n
8
n
i
021U UI:I 06
J._l/'13_ W!:3 61,
1
rl
3
_ INOA vl "t3o
40

Related product manuals