EasyManua.ls Logo

Cub Cadet 18.5HP Z-Force 42 - Hydrostatic Drive System; Electrical Circuit

Cub Cadet 18.5HP Z-Force 42
28 pages
Print Icon
To Next Page IconTo Next Page
To Next Page IconTo Next Page
To Previous Page IconTo Previous Page
To Previous Page IconTo Previous Page
Loading...
17
Note:
When replacing belts do not over-
tighten. Adjust the idler pulley so that a ten-
pound pull with a spring scale between two
pulleys deflects the belt about 1/2".
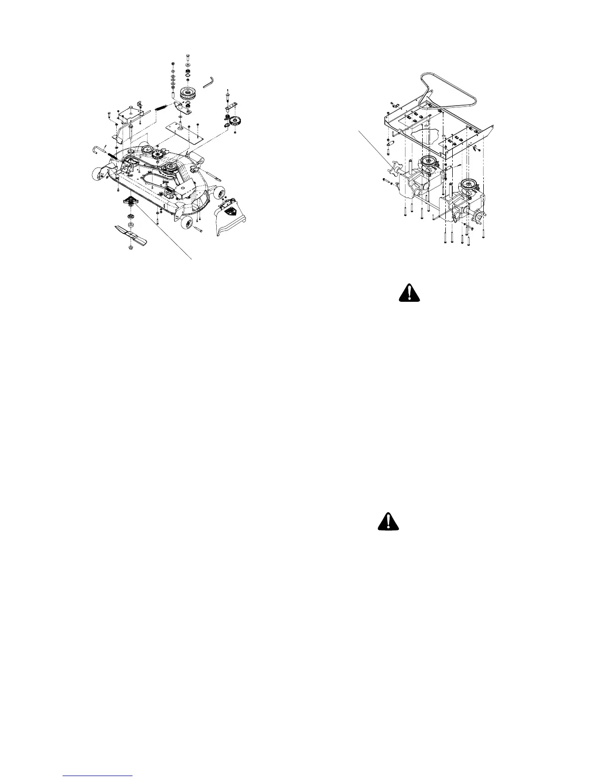
5. Changing the Spindle Assembly
a. Jack up the front of the mowing deck about
one foot and block it in that position.
b. Make sure the blade clutch is disengaged.
c. Remove the deck cover.
d. Remove the drive belts. (See 3. Changing
Blade Drive Belts.)
e. Remove the cutter blade. (See 2. Chang-
ing a Blade.)
f. Using a wrench or socket ratchet remove
four hex nuts, and the four hex head cap
screws. Remove the spindle assembly.
g. Reverse the process to install the spindle
assembly.
B.Hydrostatic Drive System
1.
Your zero turn riding mower is equipped with
dual integrated hydrostatic pumps, motors, and
planetary gear reduction transaxles that are
sealed and
do not require service, maintenance,
or adjustments
.
C.Electrical Circuit
Danger:
Read General Safety Precautions Nos. 9 and 10.
1.
Battery:
The battery is located beneath the
operator’s seat. If so equipped, remove the fill-
caps and check the level of the liquid electro-
lyte in the battery every 50 operating hours. If
the level in any of the six cells has dropped
below the bottom of the split ring inside the fill
hole, refill the cell with distilled water. To keep
the outside of the battery clean, brush on a
strong solution of bicarbonate of soda and
water and rinse with clean water. Keep the
contacts and cable ends clean with a wire
brush and make sure the connections are
tight. Coat the terminals with petroleum jelly
to prevent corrosion.
2. Battery Removal
Warning:
When removing the cables from the battery
follow these steps to avoid a short between
the wrench and the frame.
a. Remove the negative (black) cable.
b. Remove the positive (red) cable.
c. Release the hold down straps.
d. Remove the battery without tipping.
3.
Battery Storage:
When storing the mower for
long periods of time the following guidelines
should be performed.
a. Disconnect the battery cables from the ter-
minals and remove the battery.
b. Clean the battery before storing. A dirty
battery will lose its charge over time.
Figure. 7
Figure. 8
Hydrostatic
Transaxles
Spindle

Other manuals for Cub Cadet 18.5HP Z-Force 42

Related product manuals