EasyManua.ls Logo

Cub Cadet FT 24 - 170-V0 B Fuel Tank

Cub Cadet FT 24
92 pages
Print Icon
To Next Page IconTo Next Page
To Next Page IconTo Next Page
To Previous Page IconTo Previous Page
To Previous Page IconTo Previous Page
Loading...
48
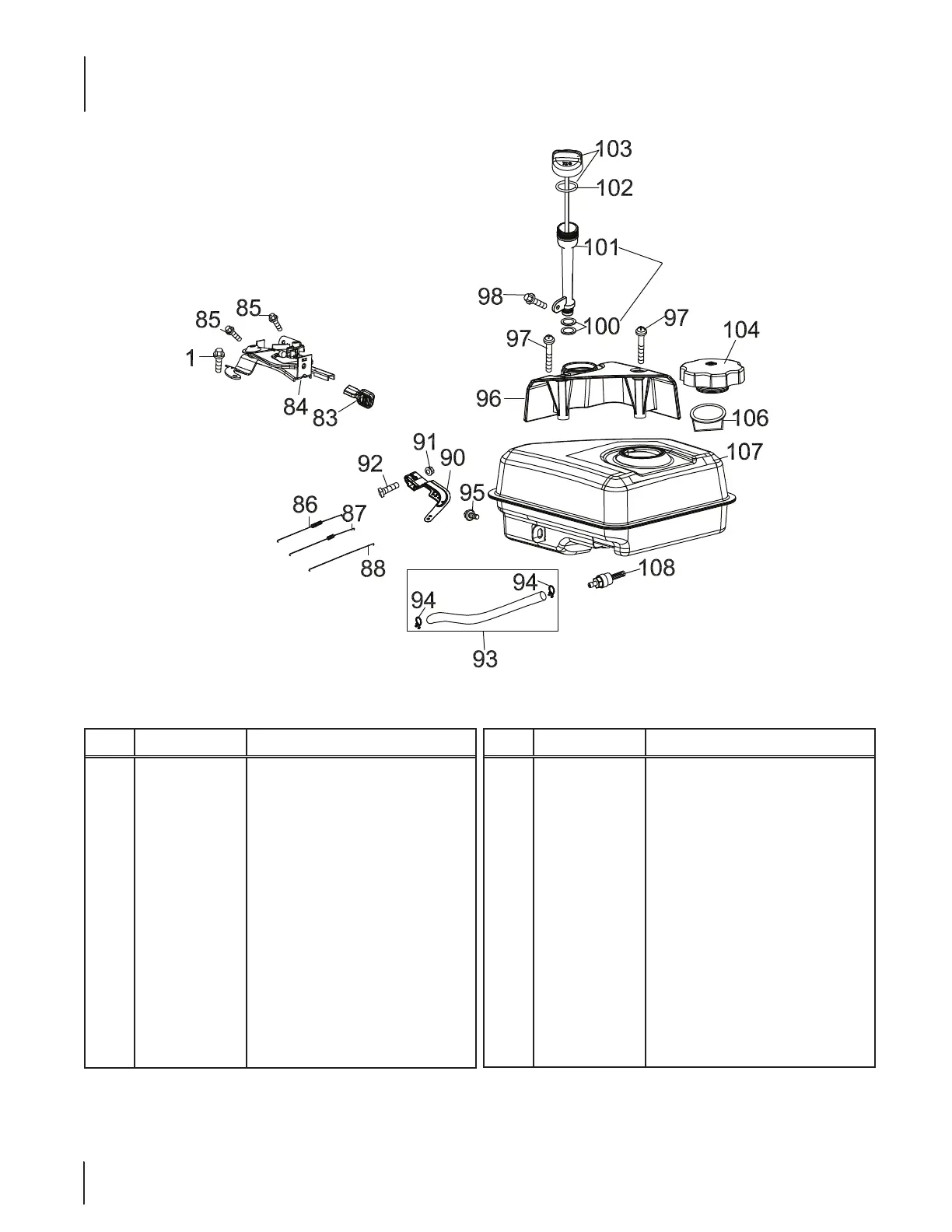
170-V0B Fuel Tank
Ref. Part Number Description
1 710-04968 Bolt M6×16
83 951-11067 Throttle Control Knob
84 951-12131 Primer Bracket
85 710-04928 Bolt M6×12
86 951-11585 Governor Spring
87 951-10664 Throttle Linkage Spring
88 951-10665 Throttle Linkage
90 951-1110 6 Governor Arm
91 712-04212 Nut M6
92 710-04908 Governor Arm Bolt
93 951-10650 Fuel Line Kit
94 951-11700 Fuel Hose Clamp
95 710-04915 Bolt M6×12
Ref. Part Number Description
96 951-11914 Dipstick Decoration Cover
97 710-04905 Bolt
98 710- 04915 Bolt M6×12
100 951-11903 Oil Fill Tube O-Ring
101 951-10656 Oil Fill Tube
101a 951-11913 Oil Fill Tube Assembly
102 951-11904 Oil Fill Tube O-Ring
103 951-11912 Dipstick Assembly
104 951-10917 Fuel Cap Assembly
106 951-11933 Fuel Filter
107 951-12159 Fuel Tank
108 951-10651 Fuel Tank Nipple
101a

Other manuals for Cub Cadet FT 24

Related product manuals