EasyManua.ls Logo

Cub Cadet Yanmar Lx490 - Page 86

Cub Cadet Yanmar Lx490
230 pages
To Next Page IconTo Next Page
To Next Page IconTo Next Page
To Previous Page IconTo Previous Page
To Previous Page IconTo Previous Page
Loading...
Lx490Lx Series
86
Copyright 2011 Cub Cadet Yanmar LLC
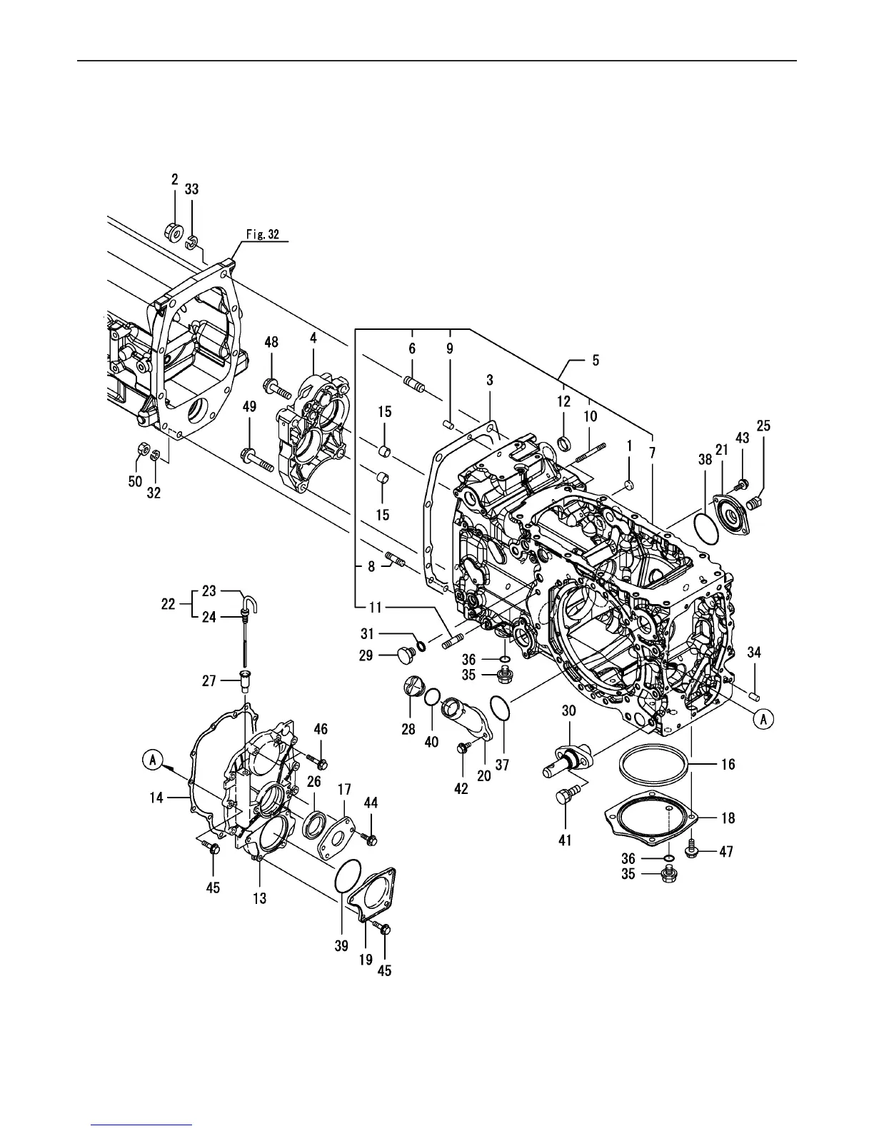
Fig 36. Transmission Case
Fig.36. TRANSMISSION CASE
0CNP5-G37900
0CNP5-G37900
36. TRANSMISSION CASE
(F)=
(E)=
(D)=
(C)=LX490
(B)=LX450
(A)=LX410
LEV.REF. PARTS NO. DESCRIPTION
RI
Q'TY
(F)(D)(C)(B)(A) (E)
PLUG 17,BORE194197-2117011 111
NUT 16198535-2412012 222
GASKET, TRANS.198212-2414013 111
RETAINER, BEARING1A7350-2416014 111
HOUSING ASSY, TRANS.1A8275-2422015 111
STUD 16*45198240-2412026 222
HOUSING,TRANSMISSION1A8275-2423027 111
STUD 12*45198240-2453028 222
PARALLEL PIN 10X 1822312-10018029 222
STUD M 8X 80 PLATED26216-080802210 222
STUD,BOLT 12 X 5026218-120502211 222
COVER, BLIND27260-300000212 111
COVER, REAR198218-24240113 111
GASKET, REAR COVER198212-24320114 111
COLLAR 13X17X14198071-24340115 222
COUPLING 140=3198133-24380116 111
PLATE, OIL SEAL198255-24460117 111
COVER198240-24480-3118 111
COVER, REAR COVER198212-24510119 111
CAP ASSY198240-24690-2120 111
COVER, STRAINER198240-24900-3121 111
GAUGE ASSY, OIL1A8275-24960122 111
GAUGE, OIL1A8275-24980223 111
TUBE194850-24990224 111
PLUG 1/2-NPT194322-24980125 111
SEAL TC 426009, OIL194130-26350126 111
GUIDE, DIPSTICK119860-34810127 111
CAP, OIL 33194850-42500128 111
PLUG PF3/8194312-46750-2129 111
PIN, LOWER LINK194640-73180130 222
GASKET194555-77910131 111
SPRING WASHER 1222217-120000132 222
SPRING WASHER 1622217-160000133 222
PARALLEL PIN 10X 1822312-100180134 222
PLUG 1423491-140002135 222
O-RING 1A P-16.024311-000160136 222
O-RING 1A P-50.024311-000500137 111
O-RING 1A G-65.024321-000650138 111
O-RING 1A G-75.024321-000750139 111
O-RING 1A 203024351-020300140 111
BOLT W/WASHER M14X3526013-140352141 444
BOLT M 8X 16 PLATED26106-080162142 222
BOLT M 8X 20 PLATED26106-080202143 222
BOLT M 8X 20 PLATED26106-080202144 222
BOLT M 8X 30 PLATED26106-080302145 101010
BOLT M 8X 40 PLATED26106-080402146 222
BOLT M10X 25 PLATED26106-100252147 444
BOLT M12X5026106-120502148 222
BOLT, 12 X 6526106-120652149 222
NUT 1226716-120002150 222
(C)Copy Rights YANMAR CO.,LTD.
Ref.
Part Number Description Qty
1 CY-194197-21170 PLUG 17,BORE 1
2 CY-198535-24120 NUT 16 2
3 CY-198212-24140 GASKET, TRANS. 1
4 CY-1A7350 -24160 RETAINER, BEARING 1
5 CY-1A8275-24220 HOUSING ASSY, TRANS. 1
6 CY-198240-24120 STUD 16*45 2
7 CY-1A8275-24230 HOUSING, TRANS 1
8 CY-198240-24530 STUD 12*45 2
9 CY-22312-100180 PARALLEL PIN 10X 18 2
10 CY-26216-080802 STUD M 8X 80 PLATED 2
11 CY-26218-120502 STUD,BOLT 12 X 50 2
12 CY-27260-300000 COVER, BLIND 1
13 CY-198218-24240 COVER, REAR 1
14 CY-198212-24320 GASKET, REAR COVER 1
15 CY-198071-24340 COLLAR 13X17X14 2
16 CY-198133-24380 COUPLING 140=3 1
17 CY-198255-24460 PLATE, OIL SEAL 1
18 CY-198240244803 COVER 1
19 CY-198212-24510 COVER, REAR COVER 1
20 CY-198240246902 CAP ASSY 1
21 CY-198240249003 COVER, STRAINER 1
22 CY-1A8275-24960 GAUGE ASSY, OIL 1
23 CY-1A8275-24980 GAUGE, OIL 1
24 CY-194850-24990 TUBE 1
25 CY-194322-24980 PLUG 1/2-NPT 1

Related product manuals