EasyManua.ls Logo

D-Link DES-3326S - Troubleshooting STP; Spanning Tree Protocol Failure

D-Link DES-3326S
349 pages
To Next Page IconTo Next Page
To Next Page IconTo Next Page
To Previous Page IconTo Previous Page
To Previous Page IconTo Previous Page
Loading...
DES-3326S Layer 3 Fast Ethernet Switch User’s Guide
330 Understanding and Troubleshooting the Spanning Tree Protocol
Troubleshooting STP
Spanning Tree Protocol Failure
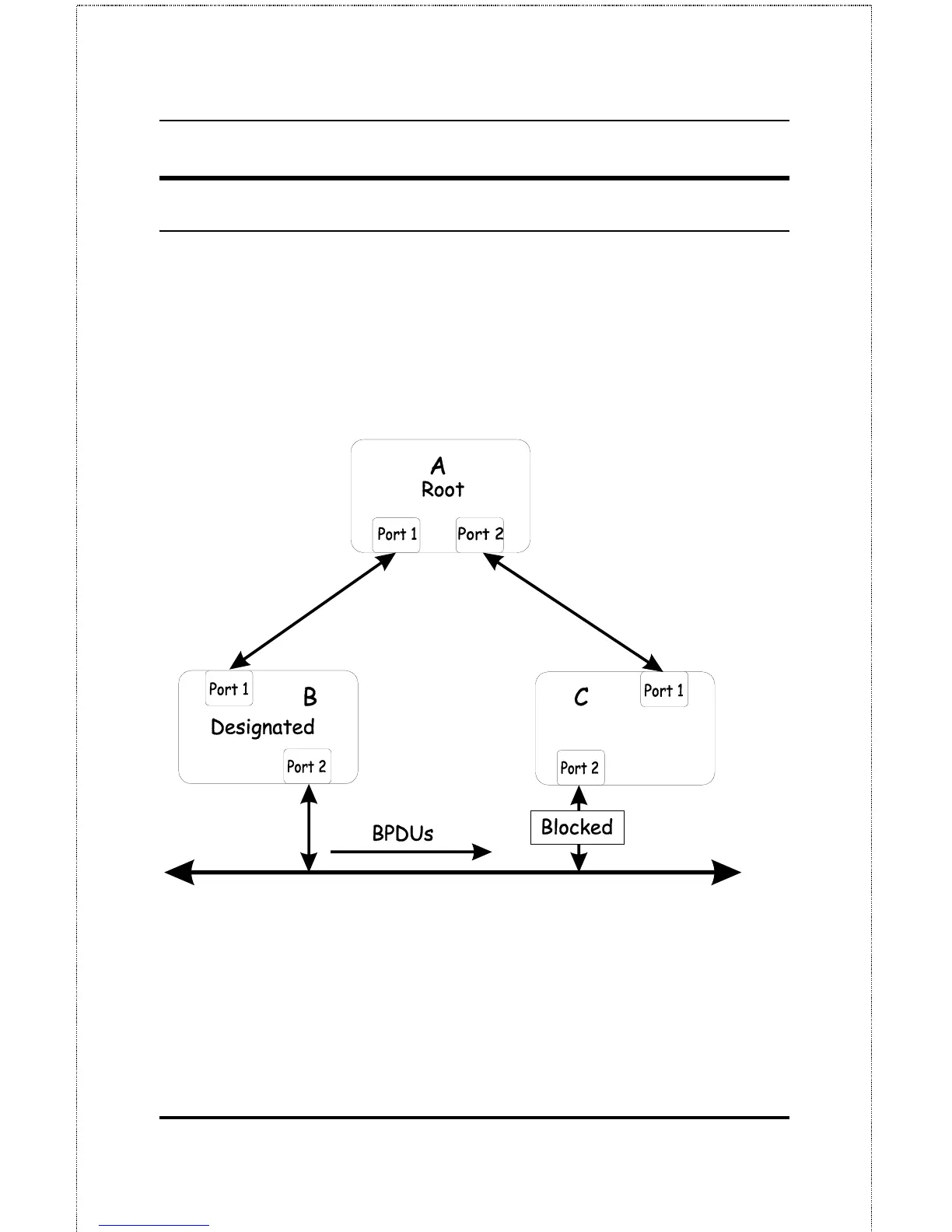
A failure in the STA generally leads to a bridging loop. A
bridging loop in an STP environment comes from a port that
should be in the blocking state, but is forwarding packets.
In this example, B has been elected as the designated bridge
and port 2 on C is in the blocking state. The election of B as
the designated bridge is determined by the exchange of BPDUs
between B and C. B had a better BPDU than C. B continues
sending BPDUs advertising its superiority over the other
bridges on this LAN. Should C fail to receive these BPDUs for
longer than the MAX AGE (default of 20 seconds), it could start

Table of Contents

Other manuals for D-Link DES-3326S

Related product manuals