EasyManua.ls Logo

D-Link DES-3326S - Page 68

D-Link DES-3326S
349 pages
Print Icon
To Next Page IconTo Next Page
To Next Page IconTo Next Page
To Previous Page IconTo Previous Page
To Previous Page IconTo Previous Page
Loading...
DES-3326S Layer 3 Fast Ethernet Switch User’s Guide
68 Switch Management and Operating Concepts
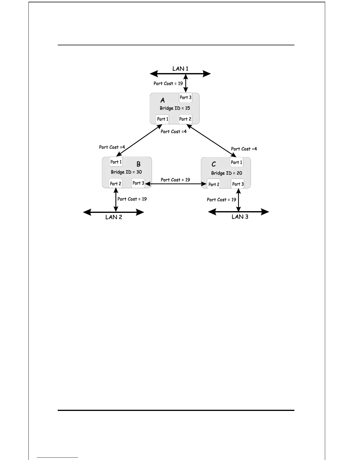
Figure 5-3. Before Applying the STA Rules
In this example, only the default STP values are used.

Table of Contents

Other manuals for D-Link DES-3326S

Related product manuals