EasyManua.ls Logo

Daedong 3A165D - Page 51

Daedong 3A165D
68 pages
Print Icon
To Next Page IconTo Next Page
To Next Page IconTo Next Page
To Previous Page IconTo Previous Page
To Previous Page IconTo Previous Page
Loading...
ENGINE
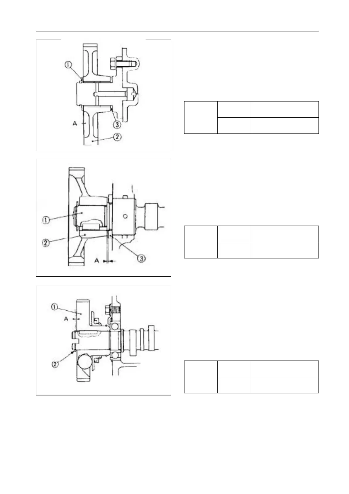
(B) Idle Gear Side Clearance
1. Pull the idle gear collar 2 (1) and push the idle gear
(2) to each end.
2. Measure the clearance A between the idle gear
and the idle gear collar 2 with a feeler guage.
3. If the clearance exceeds the allowable limit,
replace the idle gear collar 1 (3).
(1) Idle Gear Collar (3) Idle Gear Collar 1
(2) Idle Gear
( C )Cam Gear Side Clearance
1. Pull the cam gear (2) with the camshaft (1) to its
e n d .
2. Measure the clearance A between the cam gear
(2) and the camshaft stopper (3).
3. If the clearance exceeds the allowable limit,
replace the camshaft stopper (3).
(1) Camshaft (3) Stopper
(2) Cam Gear
( D ) Injection Pump Gear Side Clearance
1. Pull the fuel camshaft and pull the injection pump
gear (1) to each end.
2. Measure the clearance A between the injection
pump gear (1) and the snap ring (2) on the fuel
c a m s h a f t .
3. If the clearance exceeds the allowable limit, check
the gear, the bearing and the key.
(1) Injection Pump Gear (2) Snap Ring
Factory 0.02 to 0.51mm
Side spec. 0.0079 to 0.0201in.
clearance Allowable 0.9mm
limit 0.035in.
Factory 0.15 to 0.57mm
Side spec. 0.0059 to 0.0224in.
clearance Allowable 0.9mm
limit 0.035in.
Factory 0.07 to 0.22mm
Side spec. 0.028 to 0.0781in.
clearance Allowable 0.3mm
limit 0.0118in.

Related product manuals