EasyManua.ls Logo

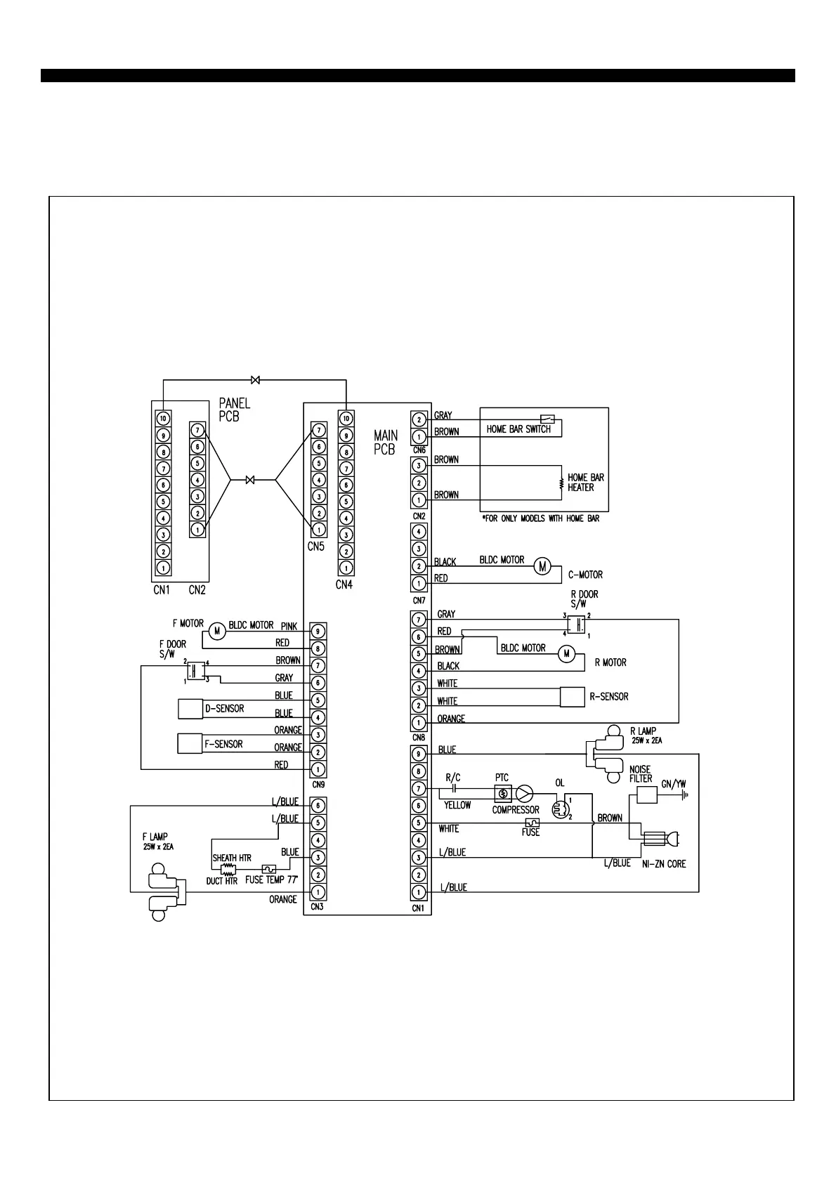
DAEWOO ELECTRONICS FRS-U20DC - 5-4. FRN-U20 BC (R-600 a)

DAEWOO ELECTRONICS FRS-U20DC
83 pages
Print Icon
To Next Page IconTo Next Page
To Next Page IconTo Next Page
To Previous Page IconTo Previous Page
To Previous Page IconTo Previous Page
Loading...
35
5-4. FRN-U20BC (R-600a, R/C) Type

Related product manuals