EasyManua.ls Logo

Daewoo DMT520 - Page 14

Daewoo DMT520
33 pages
Print Icon
To Next Page IconTo Next Page
To Next Page IconTo Next Page
To Previous Page IconTo Previous Page
To Previous Page IconTo Previous Page
Loading...
13
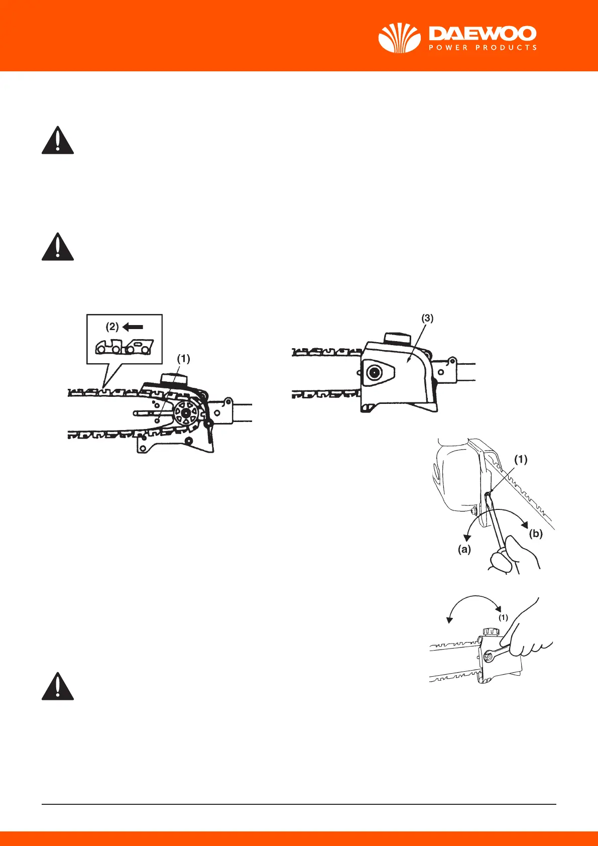
lnstall the guide bar and the saw chain on the transmission as follows.
WARNING
The saw chain has very sharp edges. Use protective gloves for safety.
1. Loasen a nut and remove the chain cover.
2. Mount the guide bar then lit the saw chain around the bar and sproc-
ket.
WARNING
Pay attention to the correct direction of the saw chaln.
3. Fit the chain tensioner nut into the lower hale ol the guide bar, then
install the chain cover, and lasten the mounting nut to finger tightness.
(1) Hola
(2) Moving direction
(3) Chain tensioner nut
4. Adjust the chain tension by turning the tensioner screw until the tie straps
just touch the bottom side of the bar rail.
(1) Chain tension adjusting screw
(a) Loasen
(b) Tighten
5. Tighten the mounting nut securely with the bar tip held up (TORQUE: 8.9 -
11.7 N.m./90 - 120 kg-cm). Then check the chain for smooth rotation and
correct tension while moving it by hand. lf necessary, readjust.
(1) Tighten
WARNING
lt is very important to maintain the proper chain tension. Rapid wear of
the guide bar or the chain coming off easily can be caused by improper
tension. Especially when using a new chain, take good care of it since it
should expand when first used.

Related product manuals