EasyManua.ls Logo

Daewoo DWC-070C - Page 14

Daewoo DWC-070C
21 pages
Print Icon
To Next Page IconTo Next Page
To Next Page IconTo Next Page
To Previous Page IconTo Previous Page
To Previous Page IconTo Previous Page
Loading...
1
4
§§
ö
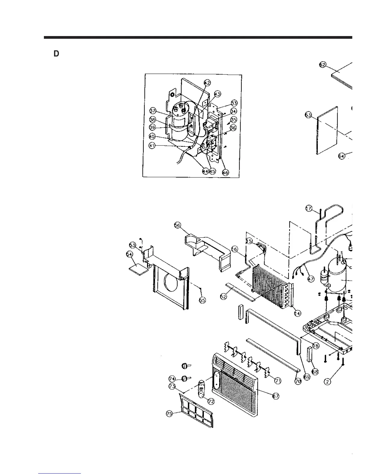
DWC-070C EXPLODED DIAGRAM

Related product manuals