EasyManua.ls Logo

Daewoo KOC-960P0A - Page 49

Daewoo KOC-960P0A
56 pages
Print Icon
To Next Page IconTo Next Page
To Next Page IconTo Next Page
To Previous Page IconTo Previous Page
To Previous Page IconTo Previous Page
Loading...
55
CHECK METHOD
(2) When touching " " pad, oven lamp turns on.
Fan motor and turntable motor rotate and cook indicator in display comes on.
* Cause : RELAY "6" does not operate.
CHECK METHOD
5) When there is not grill heat.
When touching pad, oven lamp turns on.
Fan motor and turntable and cook indicator in display comes on.
* Cause : RELAY "4" does not operate.
CHECK METHOD
POINT
AB
STAGE
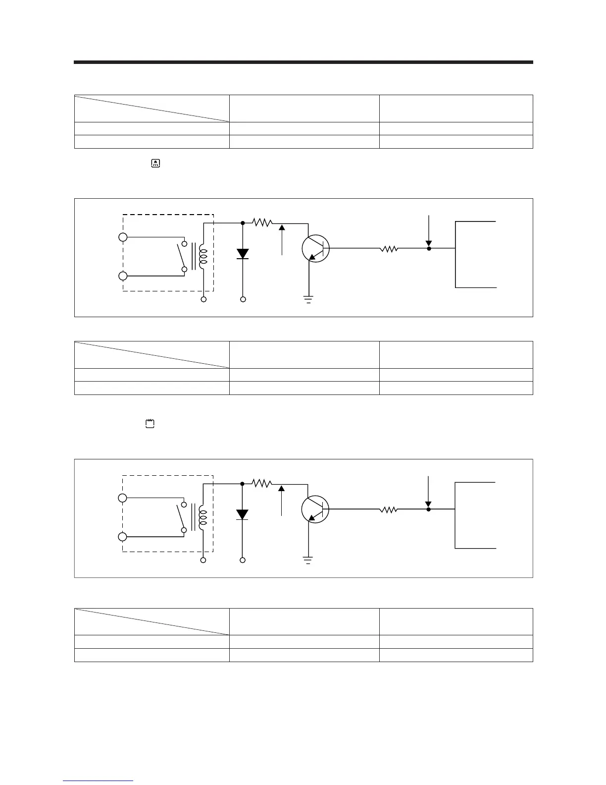
RELAY "5" ON £«5VDC GND
RELAY "5" OFF GND £«15VDC
POINT
AB
STAGE
RELAY "6" ON £«5VDC GND
RELAY "6" OFF GND £«15VDC
POINT
AB
STAGE
RELAY "4" ON £«5VDC GND
RELAY "4" OFF GND £«15VDC
A
MICOM
31
R31
Q8
B
D12
R40
+ 15V+ 15V
RELAY "6"
RY6
L
R
A
MICOM
29
R17
Q11
B
D11
R44
+ 15V+ 15V
RELAY "4"
RY4
L
R

Related product manuals