EasyManua.ls Logo

Daewoo KOR-804M - Page 24

Daewoo KOR-804M
57 pages
Print Icon
To Next Page IconTo Next Page
To Next Page IconTo Next Page
To Previous Page IconTo Previous Page
To Previous Page IconTo Previous Page
Loading...
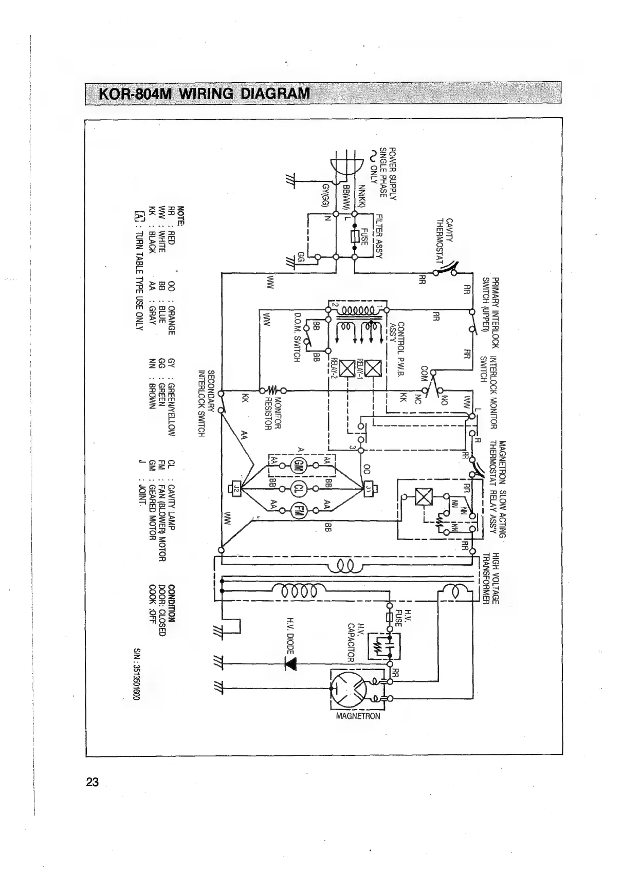
SWITCH
(UPPER)
SWITCH
O-O
L
RR
CAVITY
THERMOSTAT
*}
CONTROL
P.W.B.
POWER
SUPPLY
ASS'Y
SINGLE
PHASE
7
ONLY
FILTER
ASS'Y
NN(KK)
FUSE
=
Freawey
ayaa)
|N
I
D.O.M.
SWITCH
T
MONITOR
=
RESISTOR
SECONDARY
INTERLOCK
SWITCH
*
:
RED
OO.
:
ORANGE
:
GREEN/YELLOW
:
WHITE
BB:
BLUE
:
GREEN
:
BLACK
AA:
GRAY
:
BROWN
TURN
TABLE
TYPE
USE
ONLY
MAGNETRON
SLOW
ACTING
PRIMARY
INTERLOCK
|NTERLOCK
MONITOR
THERMOSTAT
RELAY
ASS’Y
:
CAVITY
LAMP
:
FAN
(BLOWER)
MOTOR
:
GEARED
MOTOR
:
JOINT.
HIGH
VOLTAGE
TRANSFORMER
H.V.
DIODE
CONDITION
DOOR:
CLOSED
COOK
:OFF
SIN
:
3513501600
MAGNETRON
23

Related product manuals