EasyManua.ls Logo

Dahua Villa VTO

Dahua Villa VTO
32 pages
To Next Page IconTo Next Page
To Next Page IconTo Next Page
To Previous Page IconTo Previous Page
To Previous Page IconTo Previous Page
Loading...
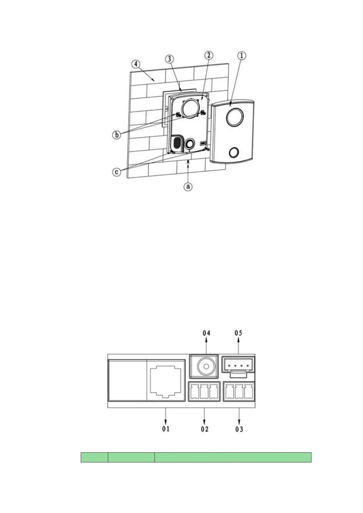
Figure 2- 9
Step 1. Remove M3 screw at the bottom of VTO, take down decoration cvoer .
Step 2. Fix the VTO onto wall, use M4 screw in accessories to fix the bracket onto 86
box ( in Figure 2- 9).
Step 3. b is designed to fasten the product. After 86 box is locked, Fix ST3.0 screw on to
wall (c in Figure 2- 9).
Step 4. Place decoration cover on to device unit , fix with MS screw.
Note:
Do not install VTO6100C on iron gate, otherwise the signal may be masked.
2.5.3 Wiring
This chapter taks VTO6100C as example since VTO6000C, VTO6000CM and
VTO6100Cs rear ports are the same. See Figure 2- 10.
Figure 2- 10
No.
Port Name
Note

Other manuals for Dahua Villa VTO

Related product manuals