EasyManua.ls Logo

Daikin 4MXL-T Series

Daikin 4MXL-T Series
299 pages
To Next Page IconTo Next Page
To Next Page IconTo Next Page
To Previous Page IconTo Previous Page
To Previous Page IconTo Previous Page
Loading...
SiUS121827E Troubleshooting for Outdoor Unit
Part 6 Service Diagnosis 203
Reference
Reference
Troubleshooting
Check No.01 Refer to P.232
Check No.12 Refer to P.236
(R21923)
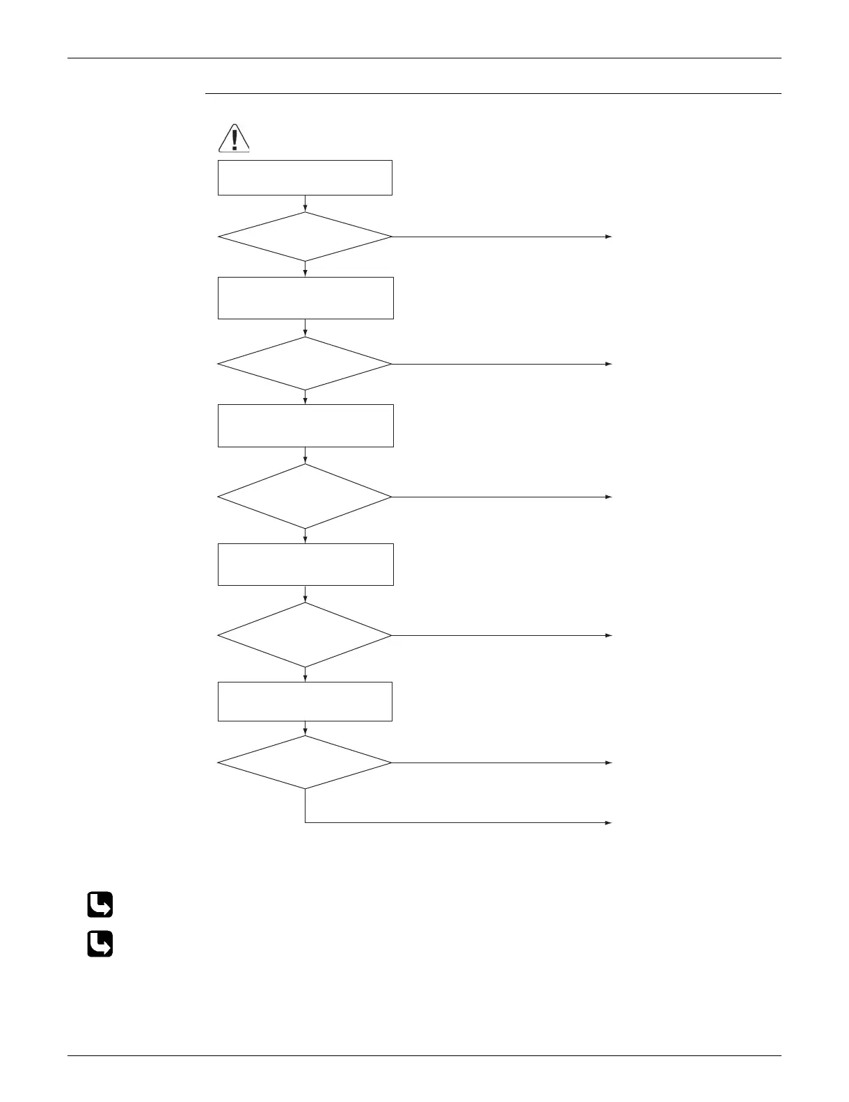
Caution
YES
NO
NO
YES
YES
YES
NO
YES
NO
NO
Check No. 12
Check the electronic expansion
valve.
Check No. 01
Check the outdoor heat
exchanger thermistor.
Check No. 01
Check the room temperature
thermistor.
Activate the wiring error check
function.
Replace the electronic
expansion valve or coil.
Replace the outdoor heat
exchanger thermistor.
Replace the room temperature
thermistor.
Replace the room temperature
thermistor or indoor heat
exchanger thermistor.
Do the vacuum drying.
Replace the indoor unit PCB
(control PCB) and then start
the wiring error check function.
Be sure to turn off the power switch before connecting or disconnecting
connectors, or parts may be damaged.
Check the wiring and piping.
Wrong wiring or
piping?
Functioning?
As described in
the thermistor
characteristic
chart?
As described in
the thermistor
characteristic
chart?
Change the refrigerant to remove
moisture from the piping (after
drawing a vacuum).
Error again?

Table of Contents

Related product manuals