EasyManua.ls Logo

Daikin 4MXL-T Series

Daikin 4MXL-T Series
299 pages
To Next Page IconTo Next Page
To Next Page IconTo Next Page
To Previous Page IconTo Previous Page
To Previous Page IconTo Previous Page
Loading...
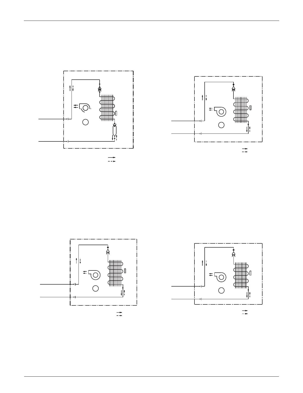
Piping Diagrams SiUS121827E
280 Part 8 Appendix
FTXS24LVJU FDXS09/12LVJU
CDXS15/18LVJU CDXS24LVJU
INDOOR UNIT
5/16 CuT
DISTRIBUTOR
HEAT EXCHANGER
CROSS FLOW FAN
M
FAN MOTOR
HEADER
1/2 CuT
REFRIGERANT FLOW
COOLING
HEATING
FIELD PIPING
1/4 CuT
FIELD PIPING
5/8 CuT
THERMISTOR
ON HEAT EXCH.
4D074608
INDOOR UNIT
(1/4CuT)
HEAT EXCHANGER
FIELD PIPING
(1/4CuT)
SIROCCO FAN
M
FAN MOTOR
(3/8CuT)
FIELD PIPING
(3/8CuT)
REFRIGERANT FLOW
COOLING
HEATING
4D074621A
THERMISTOR
ON HEAT EXCH.
INDOOR UNIT
(1/4 (6.4mm) CuT)
HEAT EXCHANGER
FIELD PIPING
(1/4 (6.4mm) CuT)
SIROCCO FAN
M
FAN MOTOR
FIELD PIPING
(1/2 (12.7mm) CuT)
(1/2 (12.7mm) CuT)
REFRIGERANT FLOW
COOLING
HEATING
4D075271
THERMISTOR
ON HEAT
EXCH.
INDOOR UNIT
(
3/8CuT
)
HEAT EXCHANGER
SIROCCO FAN
M
FAN MOTOR
(
1/2CuT
)
REFRIGERANT FLOW
COOLING
HEATING
FIELD PIPING
(
1/4CuT
)
FIELD PIPING
(
5/8CuT
)
THERMISTOR
ON HEAT
EXCH.
4D080593

Table of Contents

Related product manuals