EasyManua.ls Logo

Daikin AGZ161E - Refrigerant Schematics

Daikin AGZ161E
112 pages
To Next Page IconTo Next Page
To Next Page IconTo Next Page
To Previous Page IconTo Previous Page
To Previous Page IconTo Previous Page
Loading...
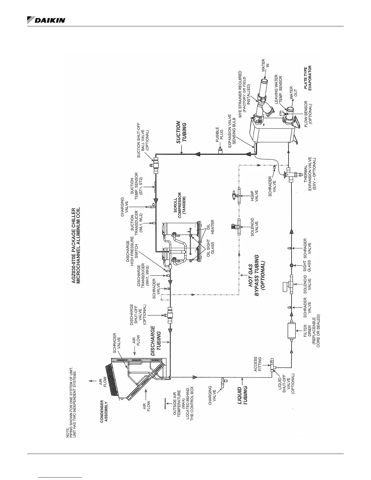
refrIgeranT sChemaTICs
www.DaikinApplied.com 15 IOM 1206-7 • TRAILBLAZER
MODEL AGZ CHILLERS
refrIgeranT sChemaTICs
Figure 26: AGZ030-070E Package Chiller with Microchannel

Related product manuals