EasyManua.ls Logo

Daikin CDX60HAVEA - Self-Diagnosis by Wired Remote Controller

Daikin CDX60HAVEA
410 pages
Print Icon
To Next Page IconTo Next Page
To Next Page IconTo Next Page
To Previous Page IconTo Previous Page
To Previous Page IconTo Previous Page
Loading...
Si18-201 Troubleshooting - SkyAir Indoor Unit
Service Diagnosis 247
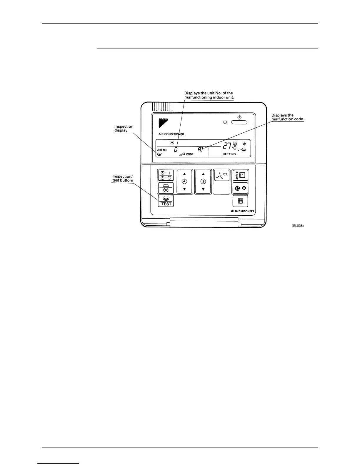
2.2 Self-Diagnosis by Wired Remote Controller
Explanation If operation stops due to malfunction, the remote controllers operation LED blinks, and
malfunction code is displayed. (Even if stop operation is carried out, malfunction contents are
displayed when the inspection mode is entered.) The malfunction code enables you to tell what
kind of malfunction caused operation to stop. See page 251 for malfunction code and
malfunction contents.

Table of Contents

Related product manuals