EasyManua.ls Logo

Daikin CDXD60CVMA - Page 271

Daikin CDXD60CVMA
298 pages
Print Icon
To Next Page IconTo Next Page
To Next Page IconTo Next Page
To Previous Page IconTo Previous Page
To Previous Page IconTo Previous Page
Loading...
Others Si12-411A
260 Others
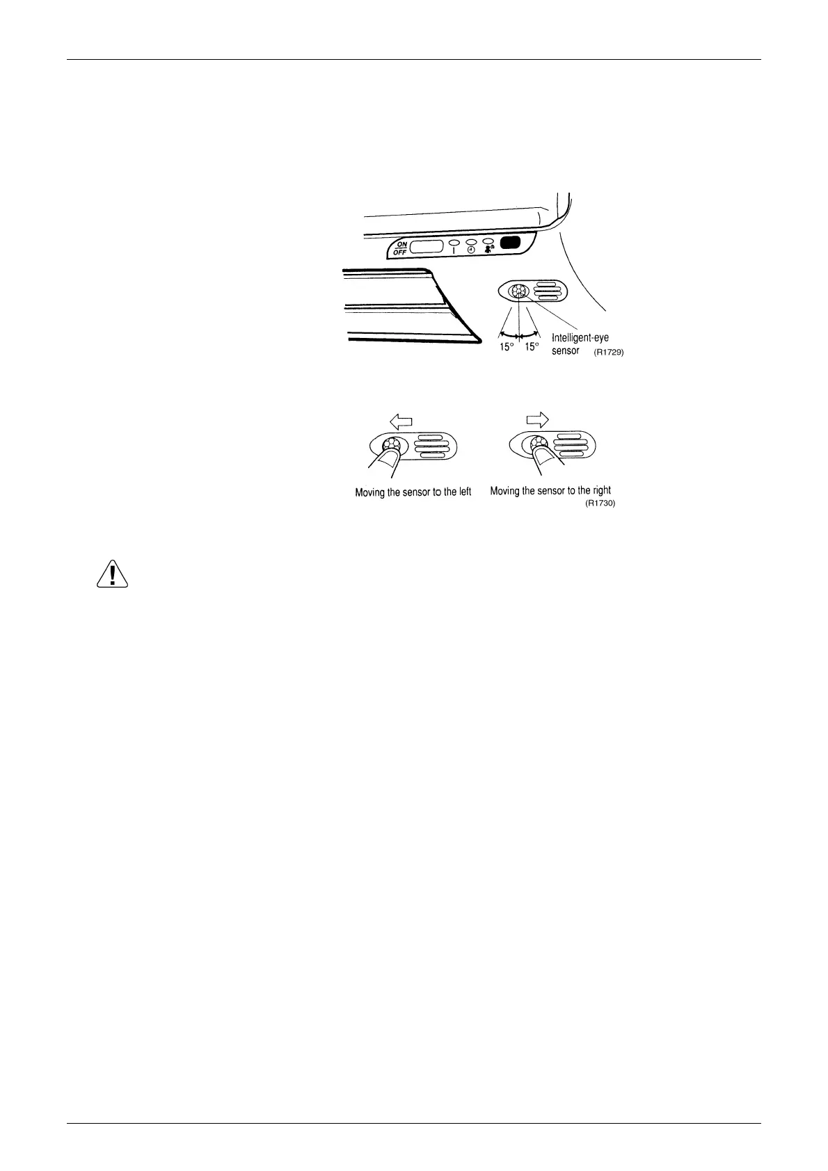
1.2.3 Adjusting the Angle of the Intelligent Eye Sensor
Wall Mounted Type 25 / 35 Class Only
Once installation of the indoor unit is complete, adjust the angle of the Intelligent eye sensor
to ensure the detection area properly covers the room.
(Adjustable angle : 15° to right and left of center)
Gently push and slide the sensor to adjust the angle. Aim so that the sensor is pointing to the
center of the room, or to the part of the room that is most frequently used.
After adjusting the angle, gently wipe the sensor with a clean cloth, being careful not to
scratch the sensor.
Caution
Do not hit or violently push the Intelligent eye sensor. This can lead to damage and
malfunction.
Do not place large objects near the sensor. Also keep heating units or humidifiers outside
the sensor’s detection area.

Table of Contents