EasyManua.ls Logo

Daikin CDXD60CVMA - Piping Diagrams; Indoor Units

Daikin CDXD60CVMA
298 pages
Print Icon
To Next Page IconTo Next Page
To Next Page IconTo Next Page
To Previous Page IconTo Previous Page
To Previous Page IconTo Previous Page
Loading...
Piping Diagrams Si12-411A
262 Appendix
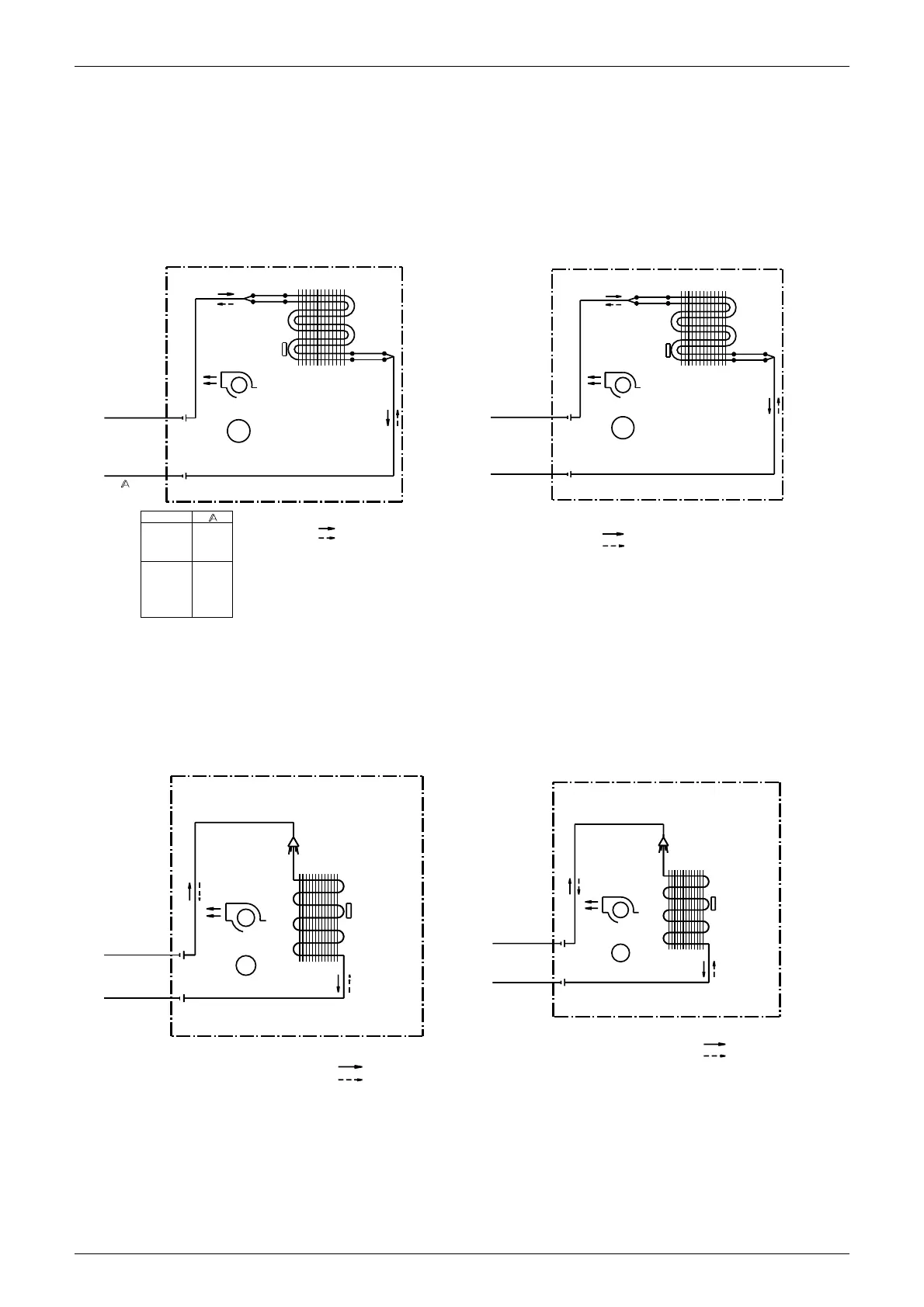
1. Piping Diagrams
1.1 Indoor Units
1.1.1 Wall Mounted Type
FTKE25/35BVM, FTK(X)E25/35BVMA FTK(X)S20CVMB(9), FTK(X)S25/35CVMB(9)(8),
ATXS20/25/35CVMB(9), FTXS25/35BVMA
FTKD50BVM, FTK(X)D50BVMA,
FTK(X)S50/60BVMB, FTXS50/60BVMA(8),
ATXS50CVMB
FTKD60BVM, FTK(X)D60BVMA, FTK(X)S71BVMB,
FTXS71BVMA(8)
FIELD PIPING
FIELD PIPING
(6. 4CuT)
( CuT)
FTXE25--
FTKE25--
FTK25--
FTX25--
FTXE35--
FTKE35--
FTX35--
FTK35--
FTKE09--
FTKE12--
7. 9CuT
12. 7
9. 5
CROSS FLOW FAN
FAN MOTOR
THERMISTOR
ON HEAT EXCH.
INDOOR UNIT
M
6. 4CuT
7. 0CuT
9. 5CuT
HEAT EXCHANGER
REFRIGERANT FLOW
HEATING
COOLING
6. 4CuT
6. 4CuT
4D032969C
M
4D033698D
FIELD PIPING
FIELD PIPING
(
6.4CuT
)
(
9.5CuT
)
7.9CuT
REFRIGERANT FLOW
FAN MOTOR
ON HEAT EXCH.
THERMISTOR
INDOOR UNIT
HEATING
COOLING
7.0CuT
6.4CuT
9.5CuT
HEAT EXCHANGER
6.4CuT
6.4CuT
CROSS FLOW FAN
FIELD PIPING
FIELD PIPING
(
12.7CuT
)
(
6.4CuT
)
CROSS FLOW FAN
FAN MOTOR
(
7.9CuT
)
INDOOR UNIT
(
12.7CuT
)
M
REFRIGERANT FLOW
ON HEAT EXCH.
THERMISTOR
HEATING
COOLING
4D040081J
HEAT EXCHANGER
(
15.9CuT
)
FIELD PIPING
FIELD PIPING
(
6.4CuT
)
CROSS FLOW FAN
FAN MOTOR
(
7.9CuT
)
INDOOR UNIT
(
12.7CuT
)
M
HEAT EXCHANGER
REFRIGERANT FLOW
ON HEAT
EXCH.
THERMISTOR
COOLING
HEATING
4D040082H

Table of Contents

Other manuals for Daikin CDXD60CVMA

Related product manuals