EasyManua.ls Logo

Daikin FVXM50A3V1B9 - Floor Warming Operation; To Start;Stop Floor Warming Operation

Daikin FVXM50A3V1B9
64 pages
Print Icon
To Next Page IconTo Next Page
To Next Page IconTo Next Page
To Previous Page IconTo Previous Page
To Previous Page IconTo Previous Page
Loading...
6 | Operation
User reference guide
27
CVXM-A, FVXM-A, CVXM-A9, FVXM-A9, FVXTM-A
Split system air conditioners
4P625990-1D – 2022.09
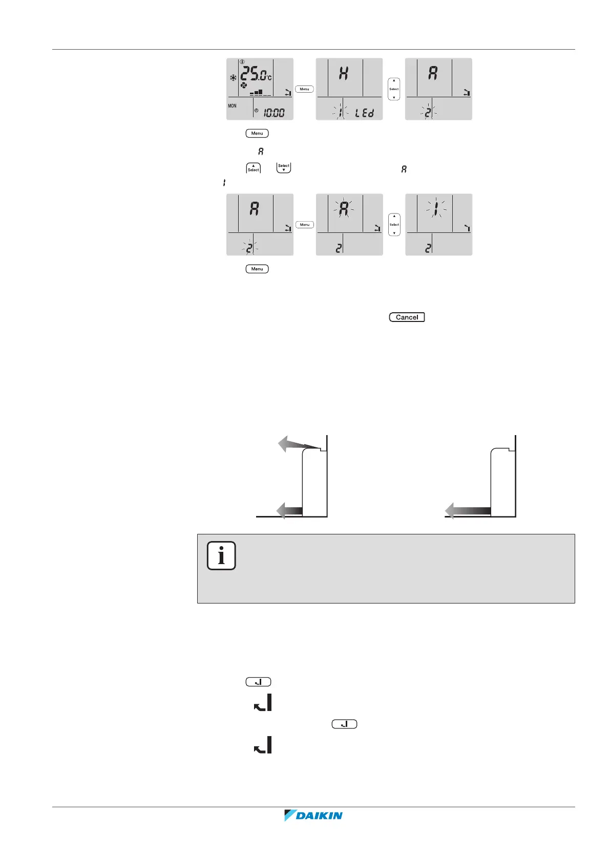
(2 sec.)
3 Press to enter the setting.
Result: " " is blinking.
4 Press or to change the setting. " " = automatic air outlet selection or
" " = top air outlet only.
5 Press to confirm the selected setting.
Result: The setting is changed.
Note: The display automatically returns to the default screen after 1minute. To
return to the default screen sooner, press twice.
6.7 Floor warming operation
This operation can effectively warm large floor areas by closing the top air outlet
and increasing the air velocity to reach distant floor surfaces.
Normal operation Floor warming operation
INFORMATION
Floor warming operation can be used in heating operation mode only and with
the automatic air outlet selection setting.
If the room temperature is low, the room may not get warm enough.
6.7.1 To start/stop Floor warming operation
Prerequisite: This operation can be set only in heating operation mode and with
the automatic air outlet selection setting.
1 Press .
Result: is displayed on the LCD and the operation starts.
2 To stop operation, press .
Result: disappears from the LCD and operation stops.

Table of Contents

Other manuals for Daikin FVXM50A3V1B9

Related product manuals