EasyManua.ls Logo

Daikin RXYMQ5AVE - System Setup and Remote Control; Installation, Wiring, and Operation Modes

Daikin RXYMQ5AVE
24 pages
Print Icon
To Next Page IconTo Next Page
To Next Page IconTo Next Page
To Previous Page IconTo Previous Page
To Previous Page IconTo Previous Page
Loading...
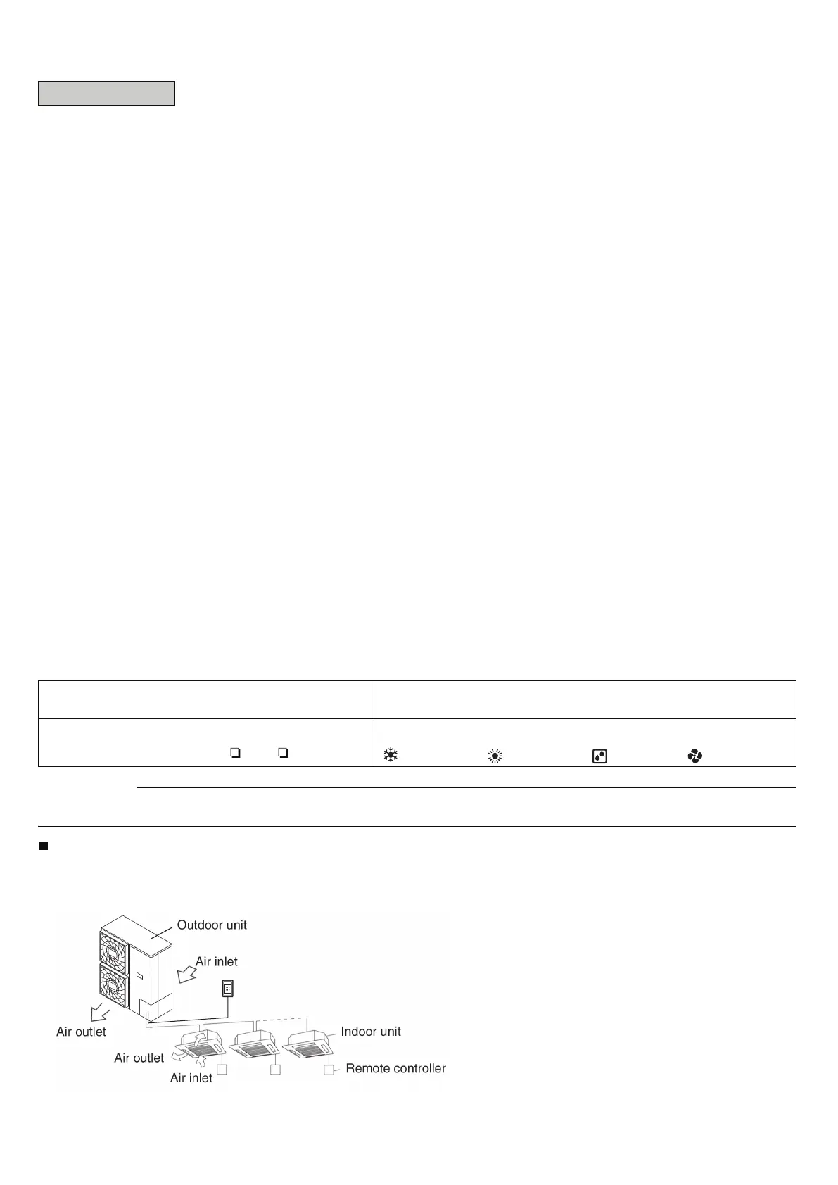
Names of parts
This operation manual is for the following systems with standard control. If your installation has a customized control
system, ask your Daikin dealer for the operation that corresponds your system.
BEFORE INSTALLATION, CONTACT YOUR DAIKIN DEALER TO CONFIRM YOUR SYSTEM TYPE.
ATTENTION
To protect the unit, turn on the main power switch 6 hours before operation.
Installation site
The system provides 4 operation modes,
Cool/Heat changover
remote controller
Operation modes
Inverter series
heat pumps RXYMQ series
yes no
(COOLING), (HEATING), (DRY) and (FAN).
System
Cool/Heat changeover
remote controller
(only for 3, 4, 5, 6 hp)
Also pay attention to operating noise.
Select the following kinds of location:
a. A place that can sufficiently withstand the weight of the
air conditioner with less running noises and vibrations.
b. A place where warm airflow from the air outlet of the outdoor
unit and operating noise do not cause a nuisance to neighbours.
Be sure there are no obstructions near the air outlet of the outdoor unit.
Obstructions may result in poor performance and increased operating noise.
If abnormal noise occur, ask your dealer for advise.
Regarding wiring
All wiring must be performed by an authorized electrician.
Always consult your dealer about wiring. Never do it by yourself.
Only use the dedicated power supply circuit provided for this air conditioner.
Install the air conditioner in a well-ventilated place that is free of obstructions
Do not use the air conditioner in the following kinds of places:
a. Where there is considerable use of mineral oil such as cutting oil
b. Where there is much salt such as a beach area
c. Where there is sulphur gas such as in a hot-spring resort
d. Where there are considerable voltage fluctuations such as a factory
e. Where there are motor vehicles or marine vessels
f. Where there is considerable atmospheric oil such as in cooking areas
g. Where there are machines generating electromagnetic radiation
h. Where the air contains acidic or alkaline steam or a vapour
Protection against snow
For details, consult your dealer.
System relocation
Consult your Daikin dealer about remodelling and relocation.
4

Related product manuals