EasyManua.ls Logo

Daikin RY60G - Page 37

Daikin RY60G
244 pages
Print Icon
To Next Page IconTo Next Page
To Next Page IconTo Next Page
To Previous Page IconTo Previous Page
To Previous Page IconTo Previous Page
Loading...
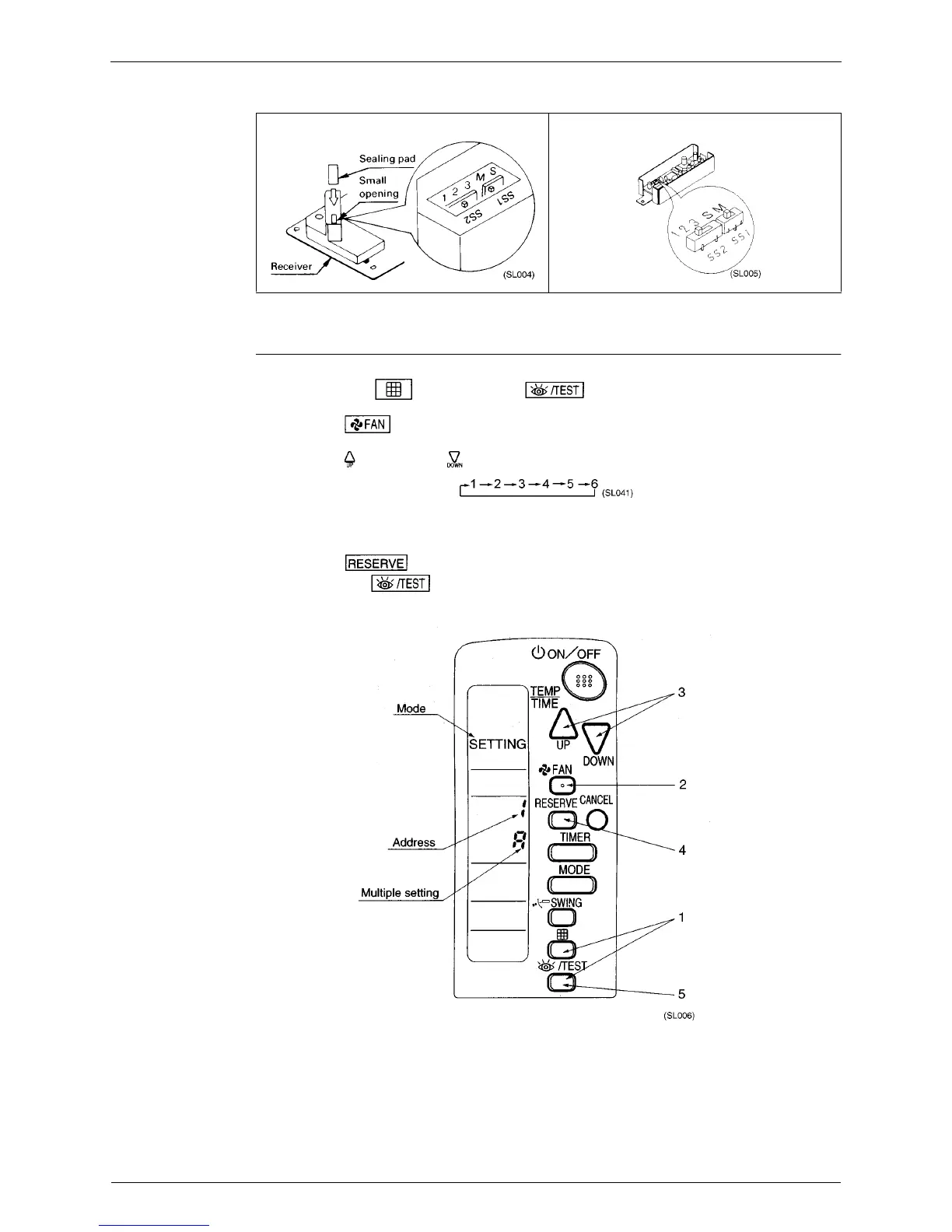
Method of Field Set (Reset after Maintenance Inspection/Repair) Si-71A
26 Explanation of Field Set
After completing setting, seal off the opening of the address switch and the MAIN/SUB switch with the
attached sealing pad.
Setting The
Address of
Wireless Remote
Controller
(It is Factory Set to
“1”)
<Setting from the remote controller>
1. Hold down the “ “ button and the “ “ button for at least 4 seconds, to get the
FIELD SET MODE. (Indicated in the display area in the figure at right).
2. Press the “ button and select a multiple setting (A/b). Each time the button is pressed the
display swicthes between “A” and “b”.
3. Press the “ “ button and “ “ button to set the address.
Address can be set from 1 to 6, but set it to 1 ~ 3 and to same address as the receiver. (The receiver
does not work with address 4 ~ 6.)
4. Press the “ “ button to enter the setting.
5. Hold down the “ button for at least 1 second to quit the FIELD SET MODE and return to
the normal display.
<In Case of FUY Model>

Table of Contents

Related product manuals