EasyManua.ls Logo

Danby DDR3011 - Operating Instructions; Dehumidifier Control Settings; Controls Overview

Danby DDR3011
24 pages
Print Icon
To Next Page IconTo Next Page
To Next Page IconTo Next Page
To Previous Page IconTo Previous Page
To Previous Page IconTo Previous Page
Loading...
OPERATING INSTRUCTIONS
3
DEHUMIDIFIER CONTROL
SETTINGS
4 hr
2 hr
Timer
Fan
Speed
Low
Medium
High
Continue
Filter
Filter
Bucket Full
Power
Power
4 hour or 2 hour
delay off
indicator lights
High, Medium
and Low fan
indicator lights
Clean the Filter
indicator light
Continuous
operation on
indicator light
Bucket Full light indicates
bucket needs to be emptied
or is not in place in the unit
Power On
indicator light
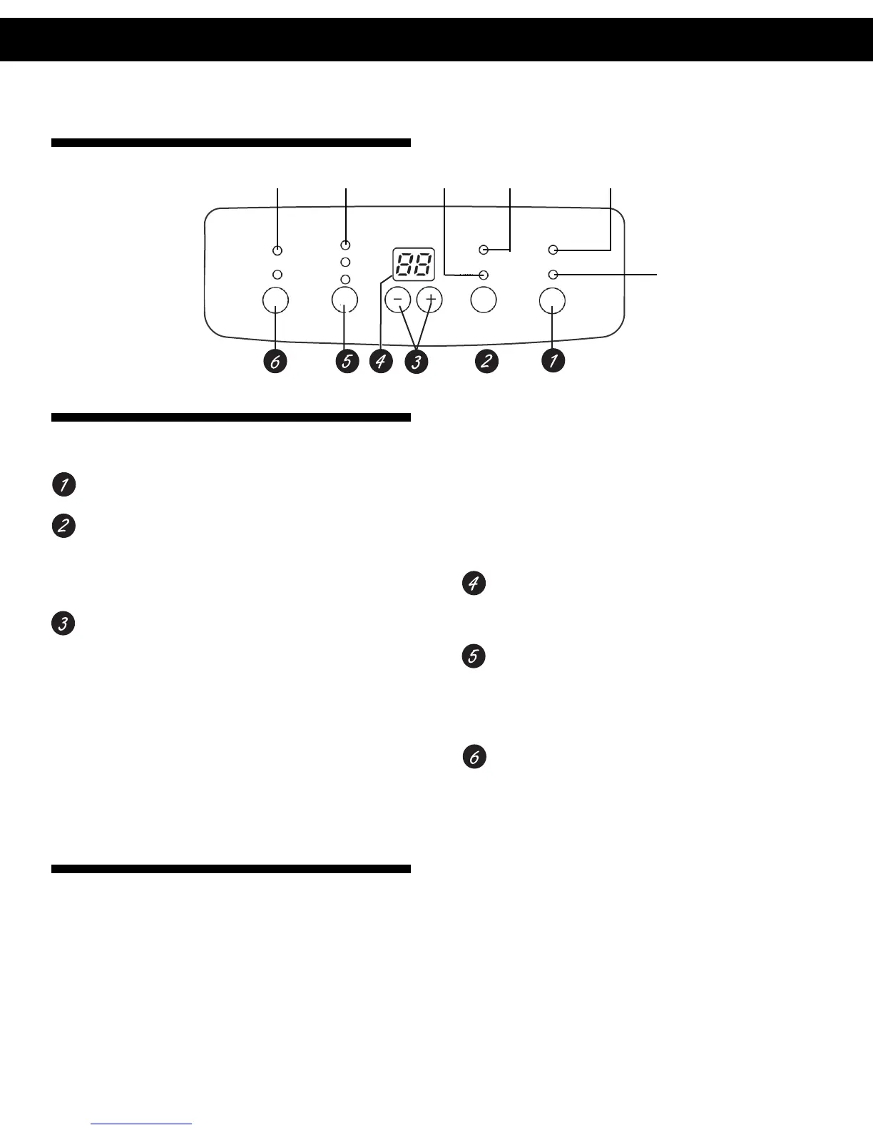
CONTROLS
NOTE: When the bucket is full or removed, the
controls cannot be set.
Power Button
Press to turn the dehumidifier on and off.
Filter Timer
After 250 hours of operation, the Clean the Filter
indicator light will glow to remind you to clean the
filter. Remove the filter and clean it. Press to turn
off the Clean the Filter light. See the Care and
Cleaning section.
Humidity Set Control Buttons
The humidity level can be set within a range
of 80% RH (Relative Humidity) to 35% RH
(Relative Humidity) in 5% incriments or at CO for
continuous operation.
NOTE: If CO (Continuous) is selected, the dehu-
midifier will operate continuously at its maximum
dehumidification settings if attached to a hose to
drain or until the bucket is full.
For drier air, press the - pad and set to a lower
percent value (%). For damper air, press the + pad
and set to a higher percent value (%).
When you first use the dehumidifier, set the
humidity control to 45% or 50%. Allow at least 24
hours for the dehumidifier to achieve the humidity
level. If the air is damper than desired, set the
humidity level to a lower setting or select
Continuous for maximum dehumidification.
Display
Shows the set % humidity level while setting, then
shows the actual (+/– 5% accuracy) room %
humidity level.
Fan Speed Button (Controls the fan speed)
Press to select either High, Medium or Low
fan speed. Set the fan control to High for maxi-
mum moisture removal. When the humidity has
been reduced and quiet operation is preferred, set
the fan control to Medium or Low.
TIMER
While the dehumidifier is in operation, press this
pad to set it to automatically turn off in 2 hours or
4 hours.
OTHER FEATURES
BUCKET FULL Light
Glows when the bucket is ready to be emptied, or when
the bucket is removed or not replaced in the proper
position.
Alarm
If the bucket is full or missing for more than 3 minutes,
an alarm will sound for about 10 seconds to remind you
to empty and replace the bucket.
Auto Shut Off
The Water Level Control Switch shuts off the dehumidifier
when the bucket is full, or when the bucket is removed or
not replaced in the proper position.
Auto Defrost
When frost builds up on the evaporator coils, the com-
pressor will cycle off and the fan will continue to run until
the frost disappears.
Power Outage
In the case of a power outage or interruption, the unit
will automatically re-start, in the settings last used, after
the power is restored.

Related product manuals