EasyManua.ls Logo

Danfoss ECL Comfort 210 - Installation; Before you start

Danfoss ECL Comfort 210
28 pages
Print Icon
To Next Page IconTo Next Page
To Next Page IconTo Next Page
To Previous Page IconTo Previous Page
To Previous Page IconTo Previous Page
Loading...
5
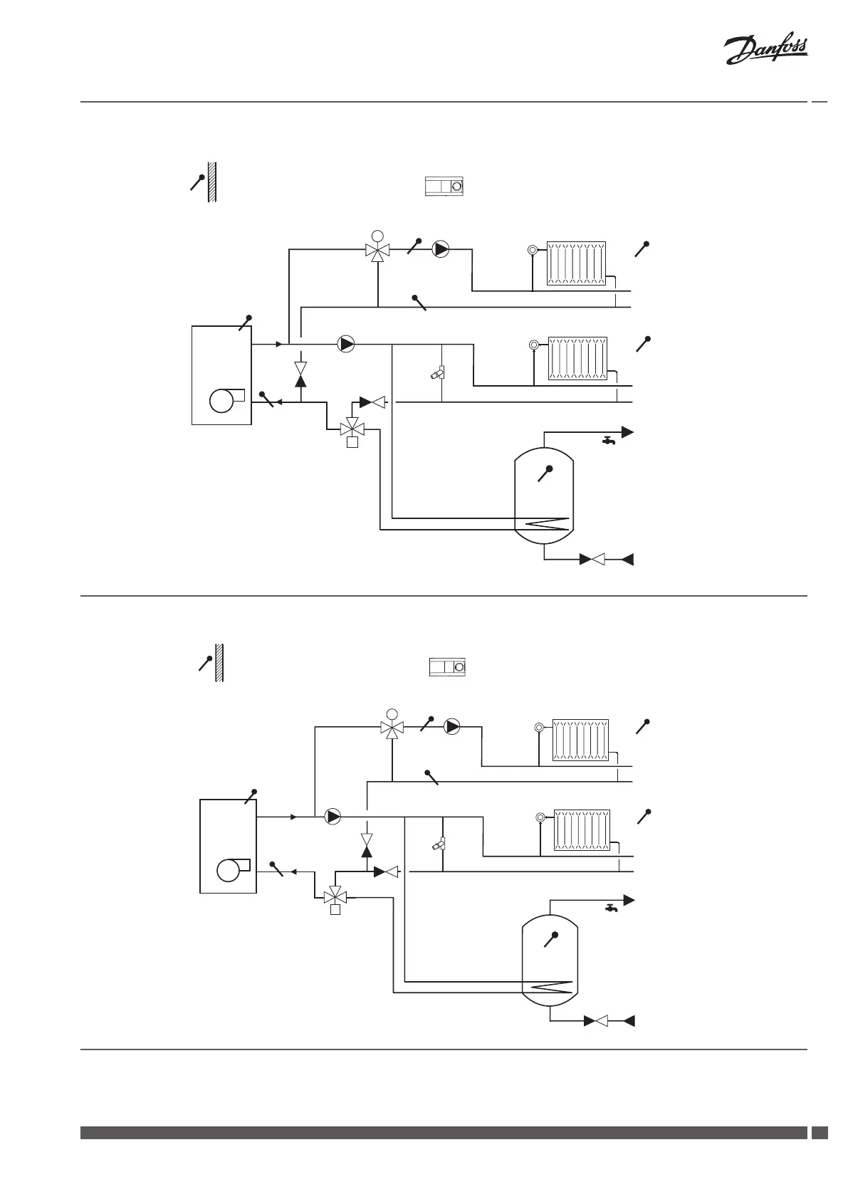
A275.3 (ex. b):
Danfoss
87H2170.10
P1
S7
*
S3
S5
B1
S6
ECL 210 / (310)
S1
P4
S8
S2
S4
M2
P3/M1
A275.3 (ex. c):
Danfoss
87H2171.10
P1
S7
*
S3
S5
B1
S6
ECL 210 / (310)
S1
P4
S8
S2
S4
M2
P3/M1
Mounting Guide ECL Comfort 210/310, A275/A375
Danfoss District Energy VI.GU.N3.00 DEN-SMT/DK

Other manuals for Danfoss ECL Comfort 210

Related product manuals