EasyManua.ls Logo

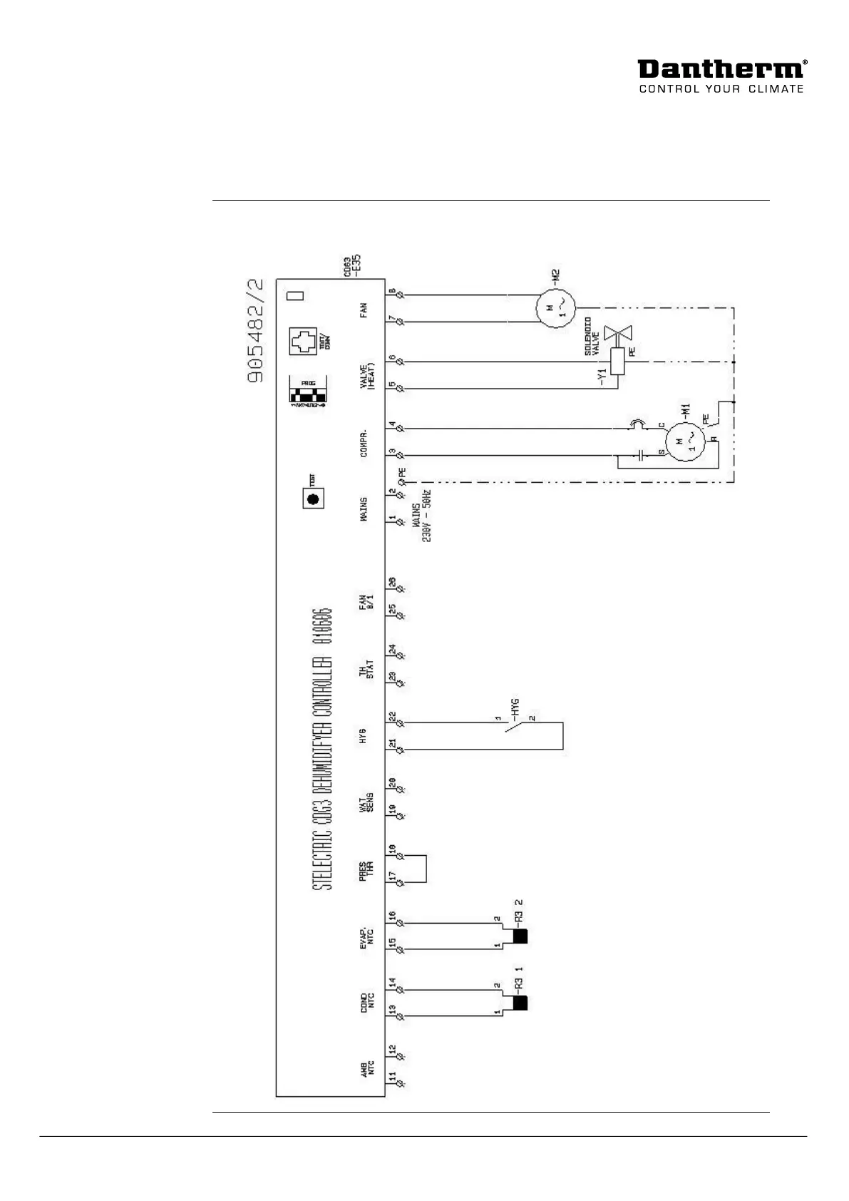
Dantherm CDP 65 - Electrical Wiring Schematics; CDP35 Wiring Schematic

Dantherm CDP 65
Print Icon
To Next Page IconTo Next Page
To Next Page IconTo Next Page
To Previous Page IconTo Previous Page
To Previous Page IconTo Previous Page
Loading...
97
975675 Version 3.1 07.02.2014
Eldiagram/Wiring diagram/Schaltplan/Schéma électrique, Схема
соединений/Schema elettrico, CDP35
Diagram
Схема
CDP35 - 1 x 230 V/50 Hz
CDP35 - 1 x 230 В/50 Гц

Table of Contents

Related product manuals