EasyManua.ls Logo

Datamars 0.5 J - Tilslutning til et elhegn

Datamars 0.5 J
172 pages
Print Icon
To Next Page IconTo Next Page
To Next Page IconTo Next Page
To Previous Page IconTo Previous Page
To Previous Page IconTo Previous Page
Loading...
163
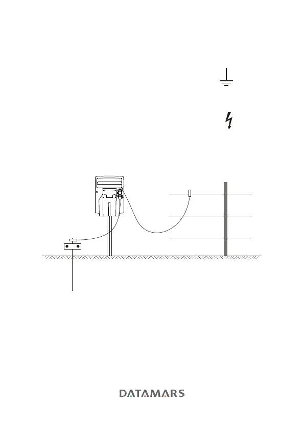
Tilslutning til et elhegn
1 Stik et 1 meter langt jordspyd helt ned i fast jord.
2 Forbind den grønne jordledning med jordklemmen (
) på
spændingsgiveren og derefter til jordingssystemet. Sørg for, at der
er god kontakt.
3 Forbind den røde hegnsledning med hegnsklemmen (
) på
spændingsgiveren og derefter til hegnet. Sørg for, at der er en god
forbindelse.
Begge ledninger findes inde i spændingsgiverens batteriramme.
1
2
3
Jordspyd

Table of Contents