EasyManua.ls Logo

DAYCO D105DC - Page 20

Default Icon
27 pages
Print Icon
To Next Page IconTo Next Page
To Next Page IconTo Next Page
To Previous Page IconTo Previous Page
To Previous Page IconTo Previous Page
Loading...
20Page
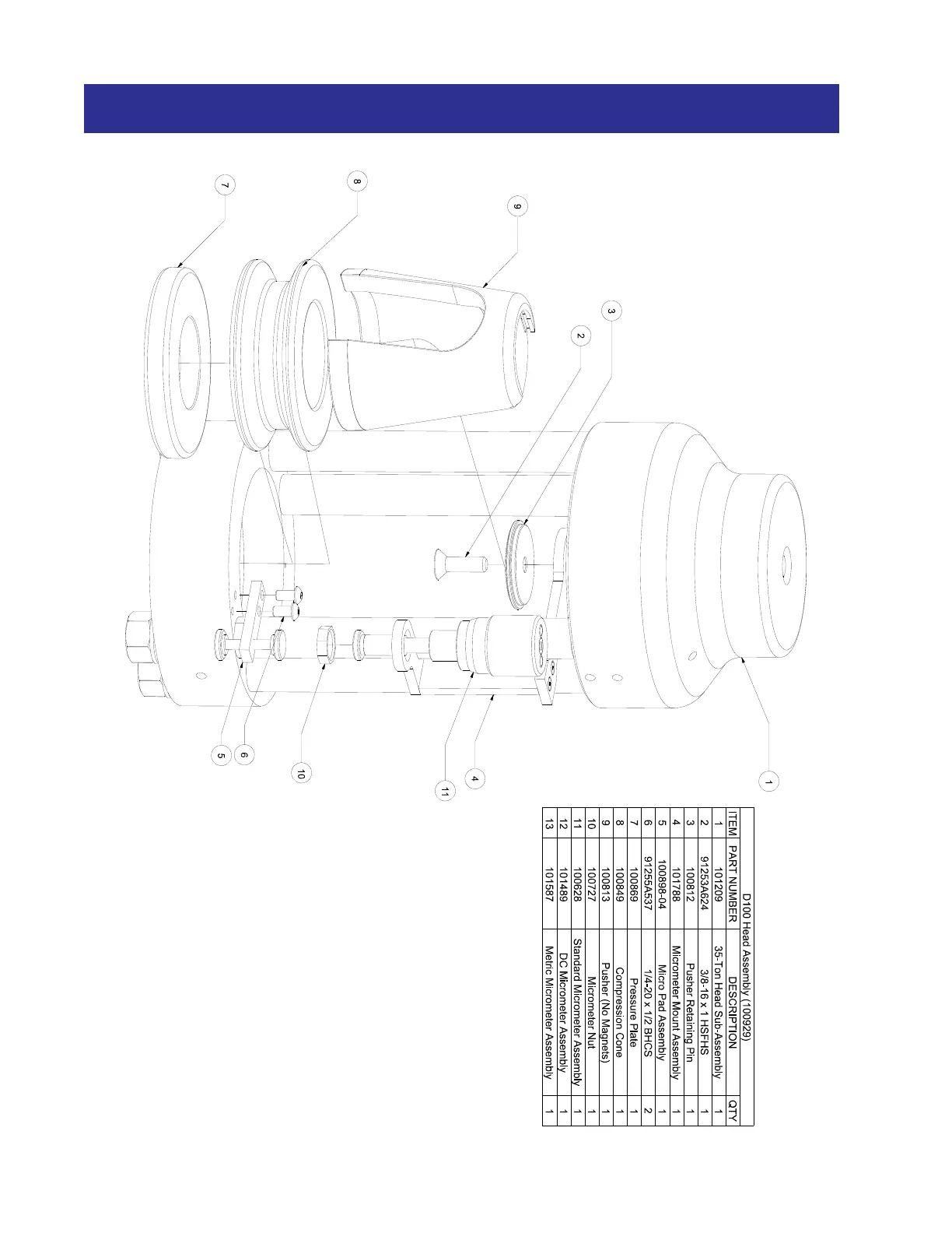
COMPONENT PARTS BREAKDOWN