EasyManua.ls Logo

Decathlon 500 - Page 57

Decathlon 500
147 pages
Print Icon
To Next Page IconTo Next Page
To Next Page IconTo Next Page
To Previous Page IconTo Previous Page
To Previous Page IconTo Previous Page
Loading...
1. 
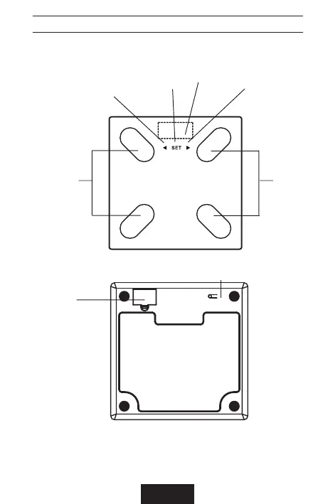
1.1. Výrobek


SET
LCD


Elektrody
Jednotka
Elektrody
󰘵
CS - 1